Texas Instruments PCM5140-Q1オーディオADC
Texas Instruments PCM5140-Q1オーディオADCは、Burr-Brown™ テクノロジーを採用したマルチチャンネル高性能ADCです。これらのADCは、8kHz ~ 768kHzのサンプルレートと120dBの信号対雑音比 (SNR) が特徴です。PCM5140-Q1オーディオADCは、ライン入力とマイク入力をサポートし、シングルエンドおよび差動入力構成が可能です。これらのADCには、プログラム可能なチャンネル・ゲイン、デジタル音量制御、マイク・バイアス電圧、フェーズロックループ (PLL) 、プログラム可能なハイパス・フィルタ、バイクワッド・フィルタ、低レイテンシのフィルタモードが統合されています。PCM5140-Q1デバイスは、自動車アプリケーションのAEC認定を取得しています。PCM5140-Q1オーディオADCには、高性能機能が集積されており、3.3Vまたは1.8Vの単供給から給電できます。このため、デバイスは、遠距離マイクロフォン録音アプリケーションで、スペースが限られたオーディオ・システムに最適です。これらのオーディオADCは、-40°C~125°Cの温度範囲で動作し、24ピンVQFNパッケージで提供されます。PCM5140-Q1オーディオ ADC は、マイクロフォン・アレイ・システム、音声有効型デジタル・アシスタント、電話会議システム、セキュリティおよび監視システムに適しています。
特徴
- 多チャネル高性能ADC:
- 4チャンネルのアナログ・マイクロフォンまたはライン入力
- 8チャンネルのデジタルPDMマイクロフォン、またはアナログ・マイクロフォンとデジタル・マイクロフォンの組み合わせ
- ADCライン入力およびマイク差動入力の性能:
- ダイナミックレンジ(DR):
- 120dB, ダイナミックレンジエンハンサ(DRE)有効
- 108dB, DRE無効
- -98dB THD+N
- ダイナミックレンジ(DR):
- ADCチャンネル加算モード、DR性能:
- 111dB, DRE無効, 2チャンネル加算
- 114dB, DRE無効, 4チャンネル加算
- ADC入力電圧:
- 差動2VRMS のフルスケール入力
- シングルエンド1VRMS のフルスケール入力
- ADCサンプルレート(fS):8kHz~768kHz
- プログラム可能なチャンネル設定:
- チャンネル・ゲイン:0dB~42dB(1dB刻み)
- デジタルボリューム制御:-100dB~27dB
- 0.1dB分解能をともなうゲインキャリブレーション
- 163ns分解能をともなう位相キャリブレーション
- プログラマブル・マイク・バイアスまたは供給電圧発生
- 低レイテンシ信号処理フィルタ選択
- プログラマブル・ハイパス・フィルタ(HPF)およびバイカッドデジタルフィルタ
- 自動ゲインコントローラ(AGC)
- I2CまたはSPI制御
- 統合型ハイスピード・オーディオPLL
- 自動クロック分周器の設定構成
- オーディオ・シリアル・データ・インターフェイス:
- フォーマット:TDM、I2S、左揃え(LJ)
- ワード長:16ビット、20ビット、24ビット、32ビット
- コントローラまたはターゲットインターフェース
- 単一電源動作:3.3Vまたは1.8V
- I/O電源動作:3.3Vまたは1.8V
- 供給消費電力:1.8V AVDD
- 16kHzサンプルレートで8.5mW/チャンネル
- 48kHzサンプルレートで9.2mw/チャンネル
アプリケーション
- マイクアレイシステム
- 音声有効型デジタルアシスタント
- 電話会議システム
- セキュリティと監視システム
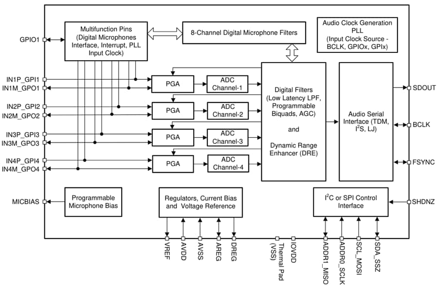
機能ブロック図
その他の資料
公開: 2024-04-23
| 更新済み: 2025-05-08
