Texas Instruments RF430FRL15xH NFC ISO15693センサトランスポンダ
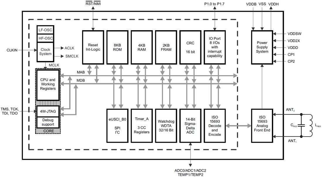
Texas Instruments RF430FRL15xH NFC ISO15693センサトランスポンダーは、13.56MHzトランスポンダーチップで、プログラマブル16ビットMSP430低消費電力マイクロコントローラが搭載されています。このデバイスは、組み込み汎用不揮発性メモリが特徴で、プログラムコードまたはキャリブレーションや測定データといったユーザーデータの保管用です。RF430FRL15xHは、通信、パラメータ設定、構成に対応しています。これは、ISO/IEC 15693、ISO/IEC 18000-3準拠のRFIDインターフェースおよびSPIまたはI2Cインターフェースを介して行うことができます。センサー計測が内部温度センサーとオンボード14ビットシグマデルタ型ADC、およびSPIまたはI2Cを介して接続可能なデジタルセンサによってサポートされています。RF430FRL15xHは、での動作向けに最適化されています。完全パッシブ(バッテリレス)またはシングルセル電池駆動(セミアクティブ)モードこれは、ポータブルおよびワイヤレス検知アプリケーションにおいて、拡張された電池寿命によって達成されます。FRAMは不揮発性メモリで、速度、柔軟性、より低い総合電力消費量でフラッシュ全ての安定性と信頼性を備えたSRAMの耐久性を組み合わせています。特徴
- MSP430 Mixed-Signal Microcontroller
- 2KB of FRAM
- 4KB of SRAM
- 8KB of ROM
- 1.45V to 1.65V supply voltage range
- Low Power Consumption
- 140µA/MHz (1.5V) active mode rating
- 16µA (LPM3) standby mode
- 16-bit RISC architecture
- Up to 2MHz CPU system clock
- Compact Clock System
- 4MHz high-frequency clock
- 256kHz internal low-frequency clock source
- External clock input
- 16-bit Timer_A with three capture/compare registers
- LV Port Logic
- VOL lower than 0.15V at 400µA
- VOH higher than (VDDB - 0.15V) at 400µA
- Timer_A PWM signal available on all ports
- eUSCI_B module supports 3-wire and 4-wire SPI and I2C
- 32-bit Watchdog Timer (WDT_A)
- ROM development mode
- Full 4-wire JTAG debug interface
- ISO/IEC 15693, ISO/IEC 18000-3 (Mode 1) compliant RF interface
- Power supply system with either battery or 13.56MHz H-Field supply
- 14-bit sigma-delta Analog-to-Digital Converter (ADC)
- Internal temperature sensor
- Resistive sensor bias interface
- CRC16 CCITT generator
アプリケーション
- Industrial wireless sensors
- Medical wireless sensors
Functional Block Diagram
TI Reference Designs Library
公開: 2015-09-02
| 更新済み: 2022-03-11
