Texas Instruments SN65HVS883デジタル入力シリアライザ
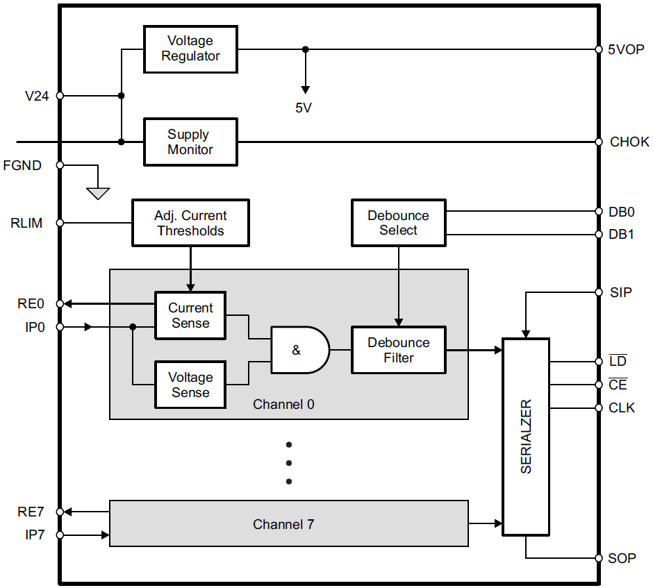
Texas Instruments SN65HVS883デジタル入力シリアライザは24V、8チャネルのデジタル入力シリアライザで、産業自動化において、PCおよびPLCベースのシステム用の、チャネル密度の高いデジタル入力モジュールとして使用されます。ガルバニー絶縁体と組み合わせることで、デバイスはフィールド側の24Vセンサ出力と、制御側の低電圧コントローラ入力との間で、完全なインターフェイスになります。EN60947-5-2準拠の2線および3線の近接スイッチから供給される入力信号は、電流制限されてから、内部のデバウンスフィルタにより検証されます。入力のスイッチング特性は、IEC61131-2のタイプ1、2、3センサスイッチに準拠しています。負荷およびクロック信号を印加すると、入力データが並列にラッチされてシフトレジスタに送られます。後段のアイソレータによりクロックに合わせて直列に、シリアルPLC入力へ送られます。特徴
- 8個のセンサ入力
- 高入力電圧: 最大34V
- 選択可能なデバウンスフィルタ: 0ms〜3ms
- 調整可能な電流制限: 0.2mA~5.2mA
- 15kV HBMに保護されたフィールド入力および供給ライン
- 外部ステータスLED用の出力ドライバ
- 8つの倍数での、より多くの入力用カスケード接続
- SPI互換インターフェイス
- 外部デジタル・アイソレータ用の安定化5V出力用
- 低供給電圧インジケータ
アプリケーション
- 産業オートメーションおよびプロセス制御用のセンサ入力
- IEC61131-2 Type 1、2、3スイッチ
- EN60947-5-2近接スイッチ
- PCおよびPLCシステム用の高チャンネル数デジタル入力モジュール
- 分散型I/Oモジュール
機能ブロック図
公開: 2017-04-28
| 更新済み: 2022-04-28
