Texas Instruments TAS3251超HDデジタル入力Class-Dアンプ
Texas Instruments TAS3251超HDデジタル入力Class-Dアンプは、Class-D効率が備わっている真のプレミアム・サウンド品質を実現できる高い性能を目的に設計されています。ハイパワー・シングルチップ・ソリューションによって、全体的なシステム・ソリューション・サイズとコストを削減できます。TAS3251はADモードで動作し、最大2 × 175Wを4Ω負荷に、2 × 220Wを3Ω負荷がに変換できる潜在的な駆動が備わっています。DACが備わっている高性能Burr-Brown™ DSPは、デジタル・フロントエンドに搭載されており、SmartAmpやSmartEQといった高度オーディオ処理に最適です。DSPによる迅速かつ簡単なスピーカ・チューニングおよび制御は、TI PurePath™コンソール・グラフィカル・チューニング・ソフトウェアによってサポートされています。Class D電力段は、高度統合フィードバックと独自の高速ゲート・ドライブ・エラー訂正が特徴です。この機能によって、オーディオ帯域全体での非常に低い歪みとノイズが実現します。特徴
- 柔軟性に富んだオーディオ入力
- I2S、TDM、左揃え、右揃え
- 32kHz、44.1kHz、48kHz、96kHz
- 3-Wireデジタル入力(MCLK不要)をサポート
- 10%THD+Nでの総合出力電力
- BTL構成で175Wステレオを4Ωに変換
- BTL構成で220Ωのステレオを3Ωに変換
- PBTL構成で350Wモノを2Ωに変換
- 1%THD+Nでの総合出力電圧
- BTL構成で140Wステレオを4Ωに変換
- BTL構成で175Wのステレオを3Ωに変換
- PBTL構成で285Wモノを2Ωに変換
- 高度に統合された閉ループ設計
- 超低0.01% THD+N @ 1Wを4Ωに変換
- クリッピングに対する0.01%未満 THD+N
- 60dB PSRR(BTL、入力信号なし)
- <95µV出力ノイズ(A加重)
- >108dB SNR(A加重)
- 固定機能処理の特徴
- SmartEQ (15x BiQuads)
- クロスオーバーEQ (2x5 BiQuads)
- 3バンド高度DRC + AGL
- ダイナミックEQとSmartBass
- サンプル・レート変換
- 制御機能
- I2Cソフトウェア・モード制御
- アドレス選択ピン
- 90%の効率のClass-D動作(4Ω)
- 12V~36Vの広い供給電圧動作
- エラー・レポートによる統合保護: 不足電圧、サイクル毎電流制限、短絡、クリッピング検出、過温度警告とシャットダウンとDC
- スピーカ保護
アプリケーション
- BluetoothおよびWiFiスピーカ
- サウンドバー
- サブウーファー
- ブックシェルフ・ステレオ・システム
- プロ用および公共用(PA)スピーカー
- アクティブ・クロスオーバーおよび2方向スピーカ
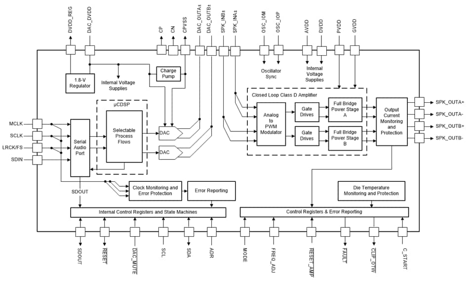
ブロック図
公開: 2018-08-03
| 更新済み: 2023-02-03
