Texas Instruments TAS5441-Q1 Mono Class-Dオーディオアンプ
Texas Instruments TAS5441-Q1モノラルD級オーディオ・アンプは、自動車緊急通報(eCall)、テレマティクス、計器クラスタ、インフォテインメントのアプリケーションに最適です。このデバイスは、14.4VDC 自動車バッテリから10%未満のTHD+Nで4Ω、最大22Wを提供します。Texas Instruments TAS5441-Q1には、広い動作電圧範囲と優れた効率性があり、必要に応じて、始動停止のサポートやバックアップバッテリから動作させるのに最適です。統合された負荷ダンプ保護により、外部電圧クランプのコストとサイズが削減され、オンボード負荷診断によりI2Cを通してスピーカーの状態が報告されます。特徴
- 自動車アプリケーションのAEC-Q100認定済み
- 40°C ~125°C、TA 温度グレード1
- Mono BTLデジタルパワーアンプ
- 10%THD+Nで22Wの出力電力を4Ωに供給
- 4.5V~18V動作範囲
- 4Ωへの83%効率性
- 差動アナログ入力
- パワーリミッタを調整できるSpeaker Guard™スピーカ保護
- 75dB電源除去比(PSRR)
- 負荷診断機能
- オープン/短絡出力負荷
- 電力に対する出力およびアースに対する出力ショート
- 保護と監視機能
- 短絡保護
- ISO 7637-2あたり40V負荷ダンプ保護
- 音楽の再生中の出力DCレベル検出
- 過熱保護
- 過電圧と不足電圧保護
- PowerPAD™パッケージ(パッドダウン)の熱的に強化された16ピンHTSSOP(PWP)パッケージ
- 車載EMC要件向けに設計
- ISO9000: 2002 TS16949認証済
- 40Vの負荷ダンプ保護(スタンバイ時)
- 非ブロッキング I2C(スタンバイ時)
アプリケーション
- 自動車緊急コール(eCall)アンプ
- テレマティクスシステム
- 計器クラスタシステム
- インフォテイメントオーディオ
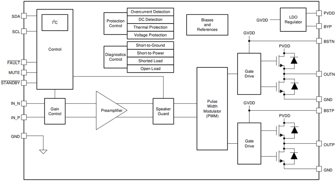
機能ブロック図
公開: 2020-08-11
| 更新済み: 2025-03-05
