Texas Instruments TAS5720A-Q1車載用Class-Dオーディオ・アンプ
Texas Instruments TAS5720A-Q1 1x25Wデジタル入力閉ループ車載用Class-Dオーディオ・アンプは、最大25W即時電力を10% THD+N @14.4Vで4Ωに変換します。TAS5720A-Q1は、自動車緊急コール(eCall)、テレマティクス、音響車両アラートシステム(AVAS)、EV/HEV音源アプリケーションでの使用に優れた選択です。特徴には、選択可能なハードウェアまたはソフトウェア制御モード、選択可能なゲイン・オプション、統合デジタル・クリッパがあります。このデバイスは、4.5V~26.4Vの広い電源動作範囲を実現しており、熱的に強化された32ピンTSSOPパッケージでご用意があります。TAS5720A-Q1は、車載用アプリケーションを対象としたAEC-Q100認定を受けています。特徴
- 供給電圧最低4.5Vまで
- 選択可能なハードウェアまたはソフトウェア制御
- オーディオ性能(PVDD = 12V、RSPK = 8Ω、SPK_GAIN[1:0] Pins = 00)
- アイドルチャンネルノイズ = 69µVrms (A-Wtd)
- THD+N = 0.02%(1Wで、1kHz)
- SNR = 100dB A-Wtd(THD + N = 1%参照)
- オーディオI/O構成:
- Mono I²S入力
- 32、44.1、48、88.2、96kHzサンプルレート
- 車載アプリケーション向けに品質評価済み
- 一般的な動作の特徴:
- 統合デジタル出力クリッパ
- プログラマブルI²Cアドレス(1101100[R/W]または1101101[R/W])
- 閉ループ・アンプ・アーキテクチャ
- 堅牢性の特徴:
- クロックエラー、DC、短絡保護
- 過温度とプログラマブル過電流保護
アプリケーション
- 自動車テレマティックス
- eCall(緊急コール)
- 音響車両アラート・システム(AVAS)
- EV/HEV音源
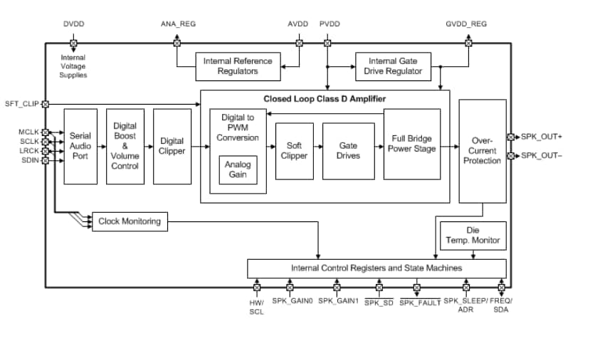
ブロック図
公開: 2018-08-09
| 更新済み: 2025-03-06
