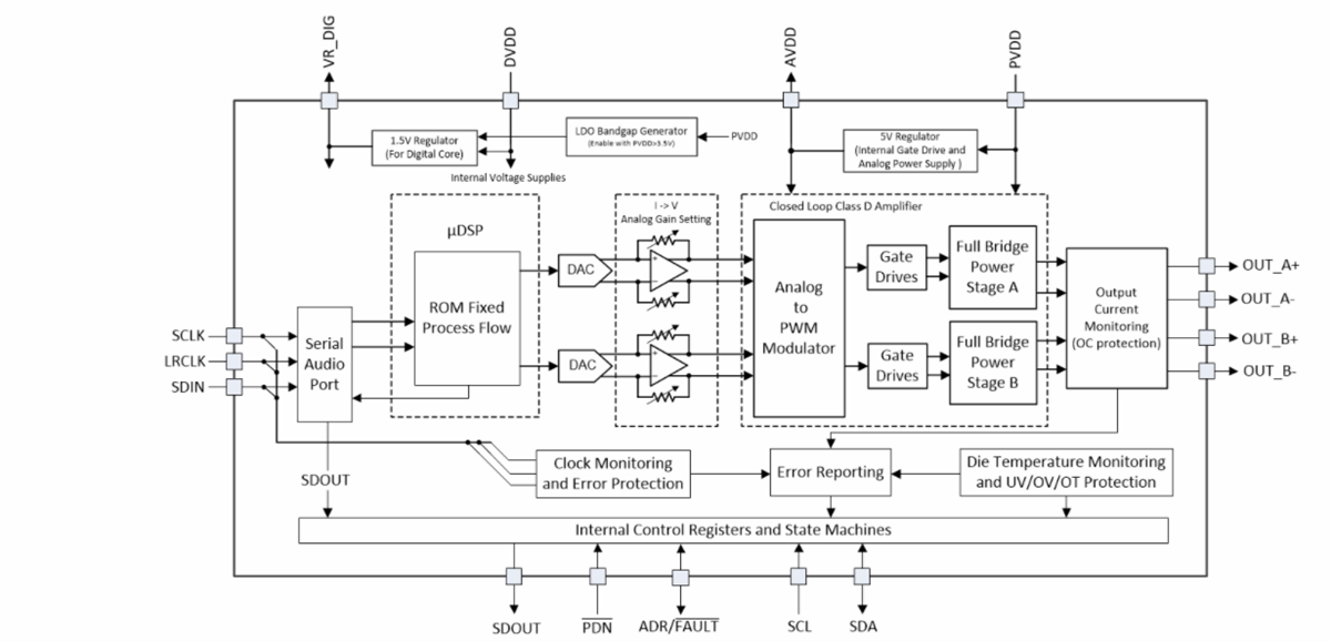
TI TAS5822MクラスDオーディオアンプは、最大96kHzのアーキテクチャを備えた統合オーディオプロセッサを特長としており、先進的な処理機能をサポートします。このデバイスは、高効率な1SPW変調をサポートしており、調整可能なクラスDループ帯域幅により優れたオーディオ性能を提供します。
特徴
- 柔軟性に富んだオーディオI/O
- 32、44.1、48、88.2、96kHzサンプルレートに対応
- I2S、LJ、RJ、TDM
- オーディオモニタリング、サブチャネル出力、またはエコーキャンセリング用のSDOUT
- PLLが集積された3-wireデジタルオーディオインターフェイス(MCLK不要)をサポート
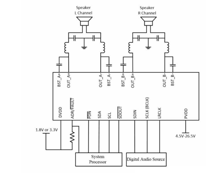
- ステレオブリッジ接続負荷またはモノ並列ブリッジ接続負荷(BTL、PBTL)をサポート
- 90%以上の電力効率を実現し、90mΩの低RDS(on) で効率的なクラスD動作
- 複数の出力構成に対応
- 2 × 2.0モードで35W (8Ω、24V、THD+N=1%)
- 2.0モードで2 × 22W(6Ω、18V、THD+N = 1%)
- 優れたオーディオ性能
- THD+N ≦0.06%@1W、1kHz、PVDD =24V
- SNR ≥ 110dB(Aウェイト)、ICN ≤ 40μVRMS
- 強化されたオーディオ処理
- サンプルレートコンバータ
- 96kHzプロセッササンプリング
- DCブロッキング、2 ×14 BQs、THDマネージャ
- DPEQ、音量制御
- 入力ミキサ、出力クロスバー
- 4次2バンドDRC + AGL
- 温度過昇フォールドバック
- 柔軟性に富んだ電源構成
- 4.5V~26.4V PVDD
- 1.8Vまたは3.3V DVDDおよびI/O
- 優れた統合セルフ保護
- 過電流誤差(OCE)
- 過温度警告(OTW)
- 過温度エラー(OTE)
- 低電圧/過電圧ロックアウト(UVLO/OVLO)
- 簡単なシステム統合
- I2Cソフトウェア制御
- ソリューションサイズを縮小
- オープンループデバイスと比較して、必要な受動部品が少ない
- 最新のEMI技術による超低EMI性能
- ほとんどの用途で大型インダクタは不要
アプリケーション
- サウンドバー、PCオーディオ
- ワイヤレスBLUETOOTH®スピーカー
- DTV、HDTV、UHD、多目的モニタ
スイッチングの図
ブロック図
公開: 2020-12-29
| 更新済み: 2024-10-30

