Texas Instruments TAS6424M-Q1車載用Class-Dオーディオアンプ
Texas Instruments TAS6424M-Q1車載用Class-Dオーディオアンプには、2.1MHz PWMスイッチング周波数が実装されており、非常に小型のPCBサイズでのコスト最適化ソリューションを実現できます。TAS6424M-Q1は、スタート/ストップ事象のための最低4.5Vまでの完全動作、および最高40kHzオーディオ帯域幅が備わった優れたサウンド品質が特徴です。出力スイッチング周波数は、AM帯域より高くまたは低く設定して効率を最適化できます。出力周波数をAM帯域より高く設定することで、AM帯域干渉をなくし、出力フィルタリングとコストを削減できます。TAS6424M-Q1には、内蔵の負荷診断機能があり、誤接続出力の検出および診断を目的としています。また、この機能は、製造工程中のテスト時間の短縮に役立つAC結合ツイータも検出します。このデバイスは、27Wの4つのチャンネルを10% THD+Nでの4Ωに実現しています。また、45Wを14.4V電源から10% THD+Nで2Ωに供給します。
TAS6424M-Q1オーディオアンプは、自動車ヘッド・ユニットと外部アンプモジュールでの使用を目的としたClass-Dオーディオアンプに最適です。TAS6424M-Q1は、車載用アプリケーションを対象としたAEC-Q100認定を受けています。TAS6421-Q1、TAS6422-Q1は、TAS6424L-Q1およびTAS6424-Q1には、1つ、2つ、4チャンネルのオプションのピン互換性があります。
特徴
- 高度な負荷診断
- 入力クロックなしでのDC診断実行
- インピーダンスと位相応答によるツィータ検出のAC診断
- CISPR25-L5 EMC仕様を満たすことが簡単
- オーディオ入力
- 4チャンネルI2Sまたは4/8チャンネルTDM入力
- 入力サンプルレート: 44.1kHz、48kHz、96kHz
- 入力形式: 16ビット~32ビットI2S、TDM
- オーディオ出力
- 4チャンネル・ブリッジ接続負荷(BTL)
- 2チャンネル・パラレルBTL(PBTL)
- 出力スイッチング周波数: 最大2.1MHz
- 27W、10%THDを4Ω @ 14.4V BLT
- 45W、10%THDを2Ω @ 14.4V BLT
- 18V PBTLの場合に80V、10%THDで2Ωに
- オーディオ性能を4Ω @ 14.4V BLTに変換
- THD+N <0.02% @ 1W
- 42µVRMS出力ノイズ
- クロストーク: –90dB
- 車載アプリケーション向けAEC-Q100認定
- デバイス温度グレード1: –40°C~+125°C TA
- 負荷診断
- 出力オープンと短絡負荷
- 出力-バッテリまたは接地短絡
- ライン出力検出最大6kΩ
- ホストから独立した動作
- 保護
- 出力電流制限
- 出力ショート保護
- 負荷ダンプ: 40V
- オープングラウンドと電力耐性
- DCオフセット
- 過熱
- 低電圧および過電圧
- 一般的な操作
- 供給電圧: 4.5V~18V
- 4つのアドレスオプションがあるI2C制御
- クリップ検出と熱警告
アプリケーション
- 車載用ヘッドユニット
- 車載用外付けアンプ
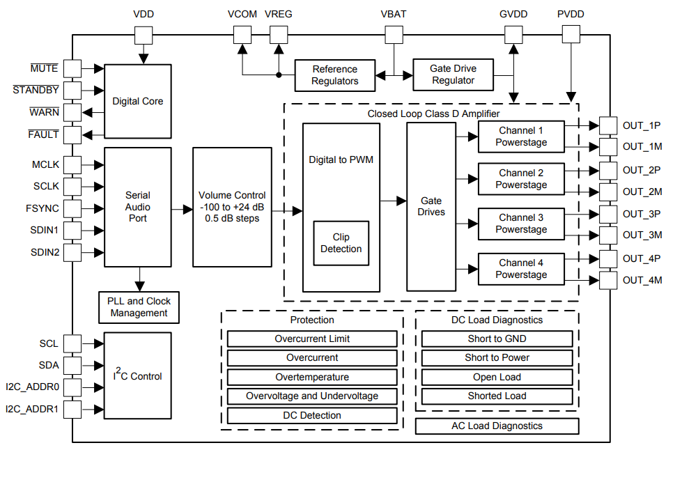
ブロック図
公開: 2019-04-24
| 更新済み: 2025-03-06
