Texas Instruments TCAL6416R I2Cバス/SMBus用I/Oエキスパンダ
Texas Instruments TCAL6416R I2Cバス/SMBus用I/Oエキスパンダは、2線式双方向SMBusまたはI2Cバスプロトコル向けに汎用出力(I/O)およびパラレル入力拡張機能を提供します。このデバイスの電源電圧は、Pポート側(VCCP)が1.08V~3.6Vで、I2Cバス側(VCCI)が1.08V~3.6Vです。このデバイスは、100kHz(標準モード)、400kHz(高速モード)、1MHz(高速モードプラス)のI2Cクロック周波数をサポートしています。TCAL6416RをはじめとするI/Oエキスパンダは、センサ、スイッチ、プッシュボタン、LED、ファンなどにI/Oを追加する必要がある場合に、簡単なソリューションを提供します。Texas Instruments TCAL6416Rには、アジャイルI/Oポートがあり、消費電力、速度、EMIに関するI/O性能を強化するように設計された追加機能が搭載されています。追加機能には、プログラマブルプルアップおよびプルダウンレジスタ、プログラマブル出力ドライブ強度、ラッチ可能入力、割り込みステータスレジスタ、マスク可能割込、プログラマブルオープンドレインまたはプッシュプル出力があります。RESETピンは、I2Cへのアクセスを回復するためにスタック状態に陥った場合のみ、I2Cステートマシンをリセットします。I/Oピンと粘着レジスタは、I2Cを再初期化しながら、最後に構成された状態を保持します。
特徴
- 1.08V~3.6Vの動作電源電圧範囲
- 1.2V、1.8V、2.5V、3.3V I2Cバスおよびpポート間の双方向電圧レベル変換およびGPIO拡張が可能
- 1.8Vでの1µAの低いスタンバイ電流消費 (代表値)
- 1MHz高速モードプラスI2Cバス
- ハードウェアアドレス・ピンを使用すると、同じI2C、SMBusバス上に2つのデバイスが可能
- アクティブLowのリセット入力(/RESET)
- デバイスが/RESETでリセットされている間、スティッキーレジスタが値を保持
- I2C機能ステートマシンはリセットされる
- オープンドレインのアクティブLow割り込み出力(/INT)
- 入力または出力構成レジスタ
- 極性反転レジスタ
- 構成可能なI/Oドライブ強度レジスタ
- 10kΩプルアップおよびプルダウンレジスタ構成レジスタ
- 内部パワーオンリセット
- ソフトウェアリセットコールサポート
- SCLまたはSDA入力でのノイズフィルタ
- LEDを直接駆動する高電流駆動能力が搭載されたラッチ出力
- ラッチアップ性能は100mA超(JESD78、Class IIによる)
- JESD22を上回るESD保護能力
- 4000V人体モデル (A114-A)
- 1,000Vデバイス帯電モデル(C101)
アプリケーション
- サーバ
- ルーター(電気通信交換機)
- パソコン
- パーソナル電子機器
- 産業用オートメーション
- ゲームコンソール
- GPIO限定プロセッサの製品
簡略図
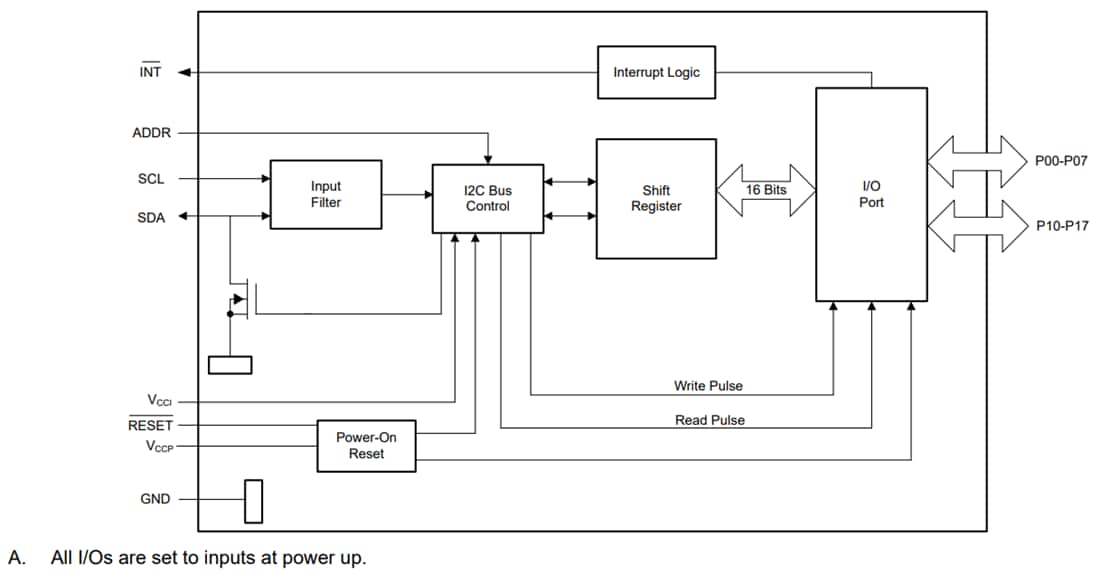
機能ブロック図
公開: 2025-08-20
| 更新済み: 2025-08-28
