Texas Instruments TCAL9539R/TCAL9539R-Q1 I2Cバス/SMBus用I/Oエクスパンダ
Texas Instruments TCAL9539R/TCAL9539R-Q1 I2Cバス/SMBus用I/Oエクスパンダは、2線式双方向SMBusまたはI2Cバスプロトコル向けに汎用出力(I/O)およびパラレル入力拡張機能を提供し、1.08V〜3.6VのVCC 動作用に設計されています。このデバイスは、100kHz(標準モード)、400kHz(高速モード)、1MHz(高速モードプラス)のI2Cクロック周波数をサポートしています。TCAL9539R/TCAL9539R-Q1 I/Oエクスパンダは、センサ、スイッチ、プッシュボタン、LED、ファンなどにI/Oを追加する必要がある場合に、簡単なソリューションを提供します。Texas Instruments TCAL9539R/TCAL9539R-Q1は、消費電力、速度、EMIの面でI/O性能を向上させるように設計された追加機能を搭載したアジャイルI/Oポートを備えています。その他の機能として、プログラム可能なプルアップ/プルダウン抵抗、プログラム可能な出力ドライブ強度、ラッチ可能な入力、割り込みステータスレジスタ、マスク可能な割り込み、プログラム可能なオープンドレインまたはプッシュプル出力があります。RESETピンは、I2Cへのアクセスを回復するためにスタック状態に陥った場合のみ、I2Cステートマシンをリセットします。I2Cが再初期化されている間、I/Oピンとスティッキーレジスタは最後に設定された状態を保持します。TCAL9539R-Q1は、車載アプリケーション向けにAEC-Q100認定を受けています。
特徴
- 動作電源電圧範囲:1.08V〜3.6V
- 低いスタンバイ電流消費:1µA(代表値、1.8V時)
- 1MHzの高速モードプラスI2Cバス
- ハードウェアアドレスピンにより、2つのデバイスを同じI2C/SMBusに接続可能
- アクティブLowのリセット入力(/RESET)
- デバイスが/RESETでリセットされている間、スティッキーレジスタが値を保持
- I2C機能ステートマシンはリセットされる
- オープンドレインのアクティブLow割り込み出力(/INT)
- 入力または出力構成レジスタ
- 極性反転レジスタ
- 構成可能なI/Oドライブ強度レジスタ
- プルアップおよびプルダウン抵抗構成レジスタ
- パワーオンリセット内蔵
- SCLまたはSDA入力のノイズフィルタ
- LEDを直接駆動する高電流駆動能力が搭載されたラッチ出力
- ラッチアップ性能は100mA超(JESD78、Class IIによる)
- JESD22を上回るESD保護能力
- 4000V人体モデル (A114-A)
- 1,000Vデバイス帯電モデル(C101)
アプリケーション
- サーバ
- ルーター(電気通信交換機)
- パソコン
- パーソナル電子機器
- 産業用オートメーション
- ゲームコンソール
- GPIO限定プロセッサの製品
簡略図
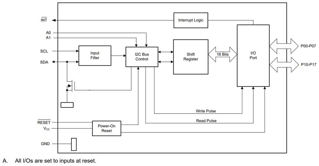
機能ブロック図
その他のリソース
公開: 2025-08-20
| 更新済み: 2025-08-28
