Texas Instruments TLV766-Q1 500mA低ドロップアウト・リニアレギュレータ
Texas Instruments TLV766-Q1 500mA低ドロップアウト(LDO)リニアレギュレータは、ワイド入力リニア電圧レギュレータで、2.5V~16Vの入力電圧範囲および最大500mAまでの負荷電流をサポートしています。出力範囲は、0.8V~12Vまたは調整可能型式で最高14.6Vまでです。広い入力電圧範囲によって、トランス二次巻線および10Vまたは12Vといった安定化が図られたレールからの動作に優れた選択です。さらに、広い出力電圧範囲によって、シリコンカーバイド(SiC)ゲートドライバとマイク、ならびにパワー・マイクロコントローラ(MCU)とプロセッサのバイアス電圧を発生させることができます。Texas Instruments TLV766-Q1には、供給要件が厳しいデジタル負荷への電力供給に必要な1%出力精度があります。内部ソフトスタート回路によって起動時の突入電流が低減し、より小さな入力容量が可能になります。広帯域幅PSRR性能は、1kHzで70dBおよび1MHzで46dB以上です。この性能は、アップストリームDC/DCコンバータのスイッチング周波数減衰に役立ち、ポスト・レギュレータ・フィルタリングを最小限に抑えます。20Hz~20kHzの高リップル除去によって、オーディオ部品への電力供給に最適な選択です。TLV766-Q1は、8ピン、3mm × 3mm VSON(DRB)パッケージ(ウェッタブルフランクと低熱抵抗)でご用意があります。
特徴
- 車載アプリケーション向けAEC-Q100認定
- –40°C~+125°C、TA温度グレード 1
- -40°C~+150°C, TJ接合温度
- 2.5V 16V(最高18V)入力電圧範囲
- 1%出力精度の過負荷と温度
- 小自己消費電流 (IQ)
- 無負荷で50µA(標準)
- 無効時4µA(最大)
- 70dB @ 1kHz、46dB @ 1MHz高PSRR
- 出力電圧範囲
- 0.8V~14.6V(調整可能)
- 1.2V~12V(固定)
- 500µs(標準)内部ソフトスタート時間
- フォールドバック電流制限と熱保護
- 1µFまたはそれ以上のコンデンサで安定的に動作
- ウェッタブル・フランク・パッケージに収められた8ピン、3mm × 3mm WSON
- 51.9°C/W低熱抵抗(RθJA)
アプリケーション
- DC/DCコンバータ
- インバータとモーター制御
- オンボード(OBC)およびワイヤレス充電器
- オートモーティブヘッドユニット
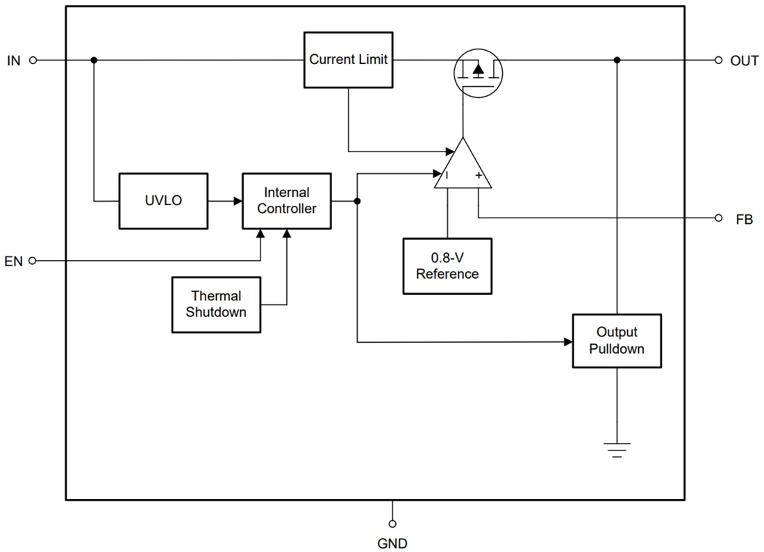
機能ブロック図
公開: 2021-02-12
| 更新済み: 2025-08-26
