Texas Instruments Tlvx197-Q1高電圧・高精度オペアンプ
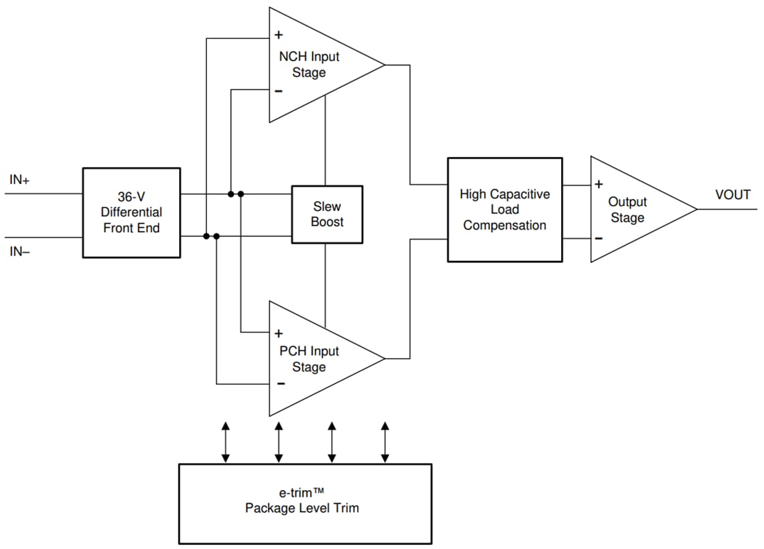
Texas Instruments TLVx197-Q1高電圧精密オペアンプ(オペアンプ)は、新世代の低コスト、36V、自動車認証済みオペアンプの一部です。TLVx197-Q1は、プラスチック成形プロセス後に最終製造ステップで実施されるオフセットとオフセット温度ドリフトのパッケージレベル・トリムの方法を使用します。この方法により、固有の入力トランジスタの不整合やパッケージ成形時に誘発されるエラーの影響が最小化されます。Texas Instruments TLVx197-Q1は、レール・ツー・レールの入力/出力、最適化されたコスト構造、AEC-Q100グレード1認証など、優れたDC精度とAC性能を備えています。この機能により、自動車分野のローサイド、電流センシング、信号調整アプリケーションに最適です。その他に、電源レールへの差動入力電圧範囲、高い出力電流 (±65mA) 、最大1nFの大容量負荷ドライブ、高スルーレート (20V/µs) など、独自の機能があります。これらの機能によって、高電圧車載アプリケーションを対象とした堅牢で高性能のOPアンプとなっています。TLVx197-Q1 OPアンプは、スタンダードパッケージでご用意があり、–40°C~+125°Cに指定されています。
特徴
- 自動車アプリケーション向けのAEC-Q100認証済み
- 40°C ~+125°C、TA 温度グレード1
- ±500µV(最高)低オフセット電圧:
- 1kHz低ノイズで5.5nV/√Hz
- 140dB高コモンモード除去
- ±5pA小バイアス電流
- レールツーレール入出力
- 10MHz GBW広帯域幅
- 20V/µs高スルーレート
- 1アンプあたり1mAという低自己消費電流
- ±2.25V~±18V、4.5V~36V広い供給電圧
- EMI/RFIフィルタ入力
- 供給レールに対する作動入力電圧範囲
- 1nF高容量負荷駆動機能
- 業界スタンダードのパッケージ
- 非常に小さい8ピンVSSOP(TLV197-Q1)の単一チャンネル
- 8ピンVSSOP (TLV2197-Q1) のデュアルチャンネル
- 14ピンTSSOP(TLV4197-Q1)のクワッドチャンネル
アプリケーション
- インバータとモーター制御
- DC/DCコンバータ
- オンボード(OBC)およびワイヤレス充電器
- バッテリ・マネジメント・システム(BMS)
ブロック図
公開: 2020-05-20
| 更新済み: 2025-03-10
