Texas Instruments TMDS1204EVMリドライバ評価モジュール
Texas Instruments TMDS1204EVM Redriver評価モジュール(EVM)は、HDMIインターフェイスが搭載されたビデオアプリケーションを対象としたTMDS1204の評価に役立つように作成されたPCBです。TMDS1204は、12Gbps(最大値)のデータレートをサポートするHDMI 2.1 ReDriverです。HDMI 1.4bおよびHDMI 2.0bとの下位互換性があります。この評価モジュールは、Texas Instruments TMDS1204の実装向けに、ハードウェアリファレンス設計としても使用できます。特徴
- プラグアンドプレイ設計
- 3通りの機器の有効化/リセットオプション
- ローカルI2Cアクセス
- 5Vの壁の電源アダプタを受け入れるためのDC電源ジャック(J9)
- USB Micro Bコネクタ給電機能
- ジャンパから構成可能
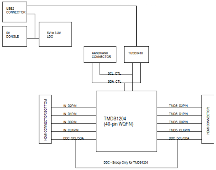
ブロック図
公開: 2022-09-30
| 更新済み: 2022-10-07
