Texas Instruments TMP709/TMP709-Q1トリップポイント温度スイッチ
Texas Instruments TMP709/TMP709-Q1トリップポイント温度スイッチは、完全統合型、温度スレッショルドのあるレジスタプ・プログラマブル温度スイッチです。全動作範囲内の設定はたった1台の外部レジスタによって行われます。このTMP709/TMP709-Q1は、オープンドレイン、アクティブロー出力を提供し、2.7V~5.5Vの供給電圧範囲があります。温度閾値精度は、代表値が±0.5°C(60°C~100°C)で、最大±3°Cです。自己消費電力は通常40µAです。ヒステリシスは、2°C~10°Cまでピン選択可能でです。TMP709-Q1デバイスは、車載アプリケーション用にAEC-Q100の認定を受けています。特徴
- 閾値精度:
- ±0.5°C標準
- ±3°C最大(60°C~100°C)
- 外部レジスタによって設定された温度閾値の1%
- 低零入力電流: 40µA(typ.)
- オープンドレイン、アクティブロー出力段
- ピン選択可能な2°Cまたは10°Cヒステリシス
- リセット操作はVCC = 0.8Vに指定
- 供給電力範囲: 2.7V~5.5V
- パッケージ: 5ピンSOT-23
アプリケーション
- コンピュータ(ラップトップとデスクトップ)
- サーバー
- 産業/医療機器
- ストレージ・エリア・ネットワーク
- 車載用
Datasheets
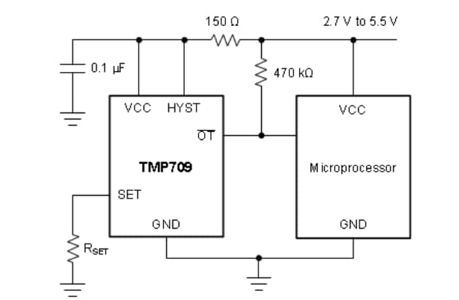
TMP709機能図
公開: 2017-08-01
| 更新済み: 2025-03-06
