Texas Instruments TMS320F2812 32ビット・デジタル信号コントローラ(DSC)
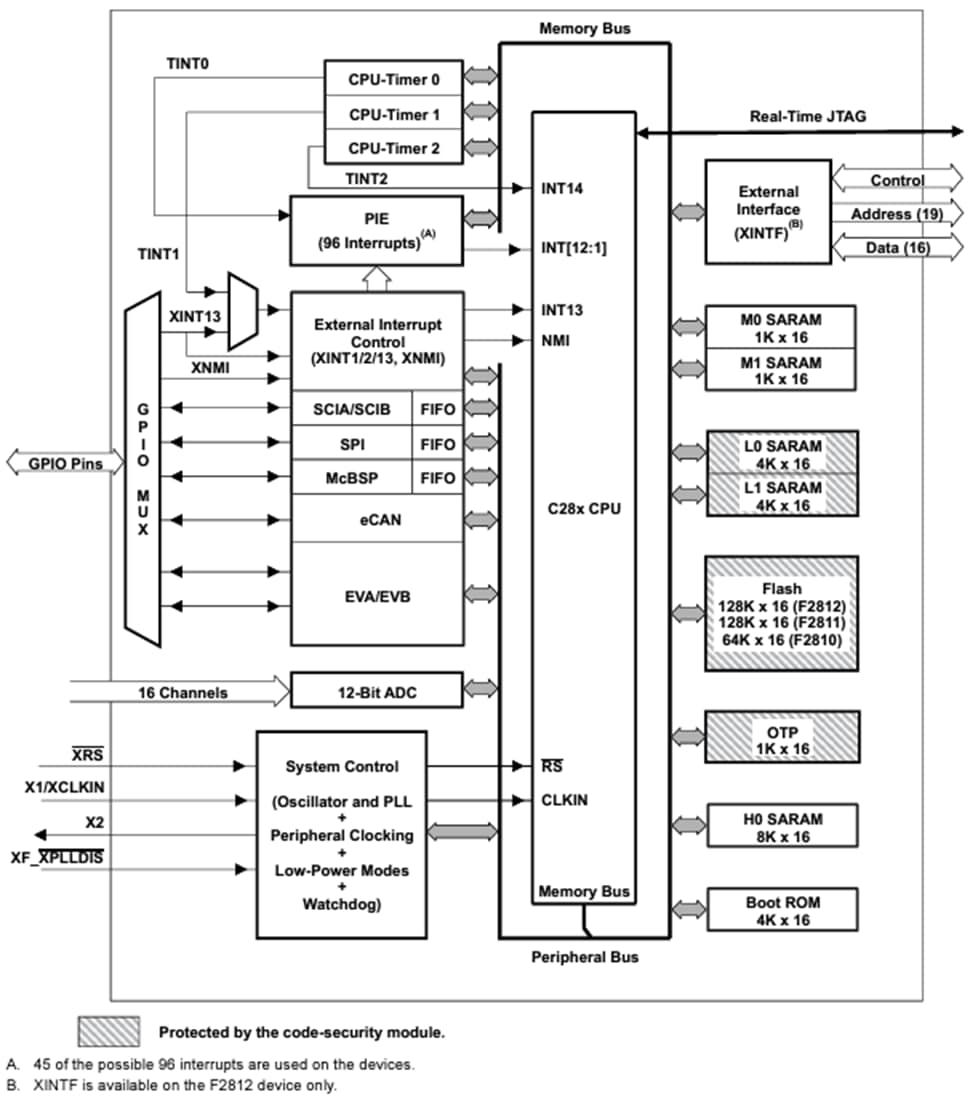
Texas Instruments TMS320F2812 32ビット・デジタル信号コントローラ(DSC)には、フラッシュが搭載されており、高性能CMOSテクノロジー、32ビットCPU、低消費電力コアが特徴です。TMS320F2812 DSCには、128K x 16の組み込みフラッシュメモリが搭載されており、4つの8K x 16セクタ、および6つの16K x 16セクタに分離されています。このTIデバイスには、アドレス範囲0x3D 7800-0x3D 7BFFでの、シングル1K x 16のOTPメモリも搭載されています。ユーザーは、フラッシュセクタを個別に消去、プログラミング、検証すると同時に、他のセクタをそのままにしておくことができます。特徴
- 高性能の静的CMOS技術
- 150 MHz(6.67nsサイクル時間)
- 低消費電力(135MHzで1.8Vコア、150MHzで1.9Vコア、3.3V I/O)設計
- IEEE規格1149.1-1990 IEEE規格の試験アクセス・ポートに対応しているJTAGバウンダリ・スキャン
- 高性能32ビットCPU(TMS320C28x™)
- 16×16および32×32のMAC動作
- 16×16のデュアルMAC
- ハーバード・バス・アーキテクチャ
- アトミック操作
- 高速の割り込み応答および割り込み処理
- 統合メモリ・プログラミング・モデル
- 4Mリニアプログラム/データアドレスリーチ
- 高いコード効率(C/C++およびアセンブリ)
- tms320f24x/lf240xプロセッサソースコード互換
- オンチップメモリ
- フラッシュデバイス: 最大128K x 16フラッシュ(4つの8K x 16および6つの16K x 16セクタ)
- ROMデバイス: 最大128K x 16 ROM
- 1k x 16 OTP ROM
- L0およびL1: 2ブロックの4K x 16各シングルアクセスRAM (SARAM)
- H0: 1ブロックの8K x 16 SARAM
- M0およびM1: 2ブロックの1K x 16各SARAM
- ブートROM(4K x 16)
- ソフトウェア・ブート・モードあり
- スタンダード演算テーブル
- 外部インターフェイス(2812)
- 1M x 16以上の合計メモリ
- プログラマブル待機状態
- プログラマブル読取/書込ストロボ・タイミング
- 3つの個別チップ選択
アプリケーション
- Advanced Driver Assistance Systems (ADAS)
- Building automation
- Electronic point of sale
- Electric Vehicle/Hybrid Electric Vehicle (EV/HEV) powertrain
- Factory automation
- Grid infrastructure
- Industrial transport
- Medical, healthcare, and fitness
- Motor drives
- Power delivery
- Telecom infrastructure
- Test and measurement
Functional Block Diagram
公開: 2019-10-07
| 更新済み: 2023-11-27
