Texas Instruments TMS320F280015x/TMS320F280015x-Q1 120MHz MCU
Texas Instruments TMS320F280015x/TMS320F280015x-Q1 32ビット120MHzマイクロコントローラ(MCU)は、デュアル32ビットのC28x CPUをLockstep構成で搭載しています。この設計により、デバイスはASIL Bの機能安全デバイス評価を達成し、ソフトウェアのオーバーヘッドを最小限に抑えることができます。リアルタイム制御サブシステムは、TIの32ビットC28x DSPコアを基に構築されており、オンチップフラッシュまたはSRAMから実行される浮動小数点または固定小数点のコードに対して120MHzの信号処理性能を提供しています。C28x CPUは三角関数演算ユニット(TMU)およびVCRC(巡回冗長性検査)拡張命令セットによってさらに強化されています。これらの拡張は、リアルタイム制御システムに不可欠な共通のアルゴリズムを高速化します。
Texas Instruments TMS320F280015x/TMS320F280015x-Q1最大256KB(128KW)のフラッシュメモリをサポートします。このデバイスには最大36KB(18KW)のオンチップSRAMが搭載されており、フラッシュメモリを補充することもできます。高性能アナログブロックは、F280015x/F280015x-Q1リアルタイムマイクロコントローラ(MCU)に統合されており、処理およびPWMユニットと密接に結合されて、最適なリアルタイムシグナルチェーンパフォーマンスを提供します。14のPWMチャンネルにより、3相インバータから力率補正やその他の高度なマルチレベル電力トポロジに至るまで、さまざまな電力段の制御が可能になります。
インターフェイスは、さまざまな業界標準の通信ポート(PmBus、SPI、SCI、LIN、I2C、CAN、CAN FD)でサポートされ、最適な信号配置のための複数のピンの多重化オプションを提供します。TMS320F280015x-Q1は、自動車アプリケーションを対象としたAEC-Q100認定を受けています。
特徴
- 120MHzの32ビットロックステップdual-TMS320C28xコア
- IEEE 754浮動小数点ユニット(FPU)
- 三角関数演算ユニット(TMU)
- CRCエンジンと命令(VCRC)
- オンチップメモリ
- 256KB(128KW)のシングル・バンク・フラッシュ(ECC保護済)
- 36KB(18KW)のRAM(ECC/パリティ保護済)
- デュアルゾーン・セキュリティ
- セキュアブートとJTAGロック
- クロックおよびシステム制御
- 2つの内部10MHz発振器
- 水晶発振器または外部クロック入力
- ウィンドウウォッチドッグタイマーモジュール
- ミッシングクロック検出回路
- デュアルクロック・コンパレータ(DCC)
- 1.2Vコア、3.3VI/O設計
- 1.2V生成のための内部VREG
- 電圧低下リセット(BOR)回路
- システムペリフェラル
- 個別にプログラミングできる多重化された汎用入力/出力(GPIO)ピン52本(アナログと共有された11本)
- アナログピンで10個のデジタル入力
- 強化された周辺割り込み拡張(ePIE)
- 複数の低消費電力モード(LPM)サポート
- 独自の識別(UID)番号
- 通信周辺機器
- 電源管理バス(PMBus)インターフェイス1台
- 2つの集積回路(I2 C)インターフェイス
- コントローラエリアネットワーク(CAN/DCAN)バスポート1点
- 柔軟性に富んだデータレート(CAN FD/MCAN)バスポートが搭載されたコントローラ・エリア・ネットワーク1つ
- シリアル・ペリフェラル・インターフェイス(SPI)ポート1個
- UART互換シリアル通信インターフェイス(SCI)3個
- UART互換ローカル相互接続ネットワーク(LIN)インターフェイス1台
- アナログシステム
- 2つの4MSPS、12ビットのアナログデジタルコンバータ(ADC)
- 最大21の外部チャネル (そのうち11チャネルはGPIOと共有)
- ADCごとに4つの集積後処理ブロック(PPB)
- 12ビット対応リファレンスデジタル・アナログコンバータ(DAC)が搭載された1ウィンドウ付きコンパレータ(CMPSS)
- デジタル・グリッチ・フィルタ
- COMPDACOUT(11ビット)
- 3つのウィンドウ・コンパレータ (CMPSS_LITE) (有効ビット数9.5ビットのリファレンスDAC付き)
- 2つの4MSPS、12ビットのアナログデジタルコンバータ(ADC)
- 拡張制御ペリフェラル
- 高解像度機能(解像度150ps)を持つ4つのチャンネルを備えた14ePWMチャンネル
- 集積デッドバンド・サポート
- 集積ハードウェア・トリップ領域(TZ)
- 3つの拡張キャプチャ(eCAP)モジュール
- CW/CCW動作モードのサポートを目的とした2つのエンハンスド直交エンコーダ・パルス(eQEP)モジュールを搭載
- 組み込みパターンジェネレータ(EPG)
- 高解像度機能(解像度150ps)を持つ4つのチャンネルを備えた14ePWMチャンネル
- SW AES用のCMACキー(128ビット)
- 診断機能
- 自己テストでのメモリ電源(MPOST)
- 機能安全に準拠したターゲット
- 機能安全アプリケーション用に開発済
- ISO 26262およびIEC 61508システム設計を支援する文書を利用可能
- ASIL DおよびSIL 3に準じた体系的な機能
- ASIL BおよびSIL 2に準じたハードウェア機能
- 安全関連認定
- TÜVの計画によるASIL BおよびSIL 2に準じたISO 26262およびIEC 61508認証
- パッケージのオプション
- 80ピン低背クワッド・フラットパック (LQFP) [末尾がPN]
- 64ピンLQFP [末尾がPM]
- 48ピンPowerPAD™熱強化・薄型クワッド・フラットパック(HTQFP)[末尾がPHP]
- 32ピン超薄型クワッド・フラットパック無鉛(VQFN)[末尾がRHB]
- 周囲温度(TA)(デバイス情報表とデバイス比較表参照)
- F280015xS、F280015xQパーツ:–40°C~125°C
- F280015xEのパーツ:–40°C~150°C
アプリケーション
- 自動車
- ADAS
- レーダーECU
- 機械的スキャンLIDAR
- ボディエレクトロニクスと照明
- ドアモジュール
- トランクモジュール
- ウィンドウモジュール
- 車体制御モジュール(BCM)
- HVACコンプレッサモジュール
- HVAC制御モジュール
- 内部ヒーターモジュール
- ヘッドライト
- シートコンフォートモジュール
- シートの位置と折りたたみモジュール
- ステアリングホイール制御
- DC/ACインバータ
- 中出力DC/DCコンバータ
- ADAS
- ハイブリッド、電気、パワートレインシステム
- バッテリ管理システム(BMS)
- DC/DCコンバータ
- インバータとモータ制御
- オンボード(OBC)およびワイヤレス充電器
- 車両制御装置(VCU)
- 仮想エンジンサウンドシステム(VESS)
- エンジンファン
- eTurbo/チャージャー
- ポンプ
- 自動伝送
- 電動パワーステアリング(EPS)
- インフォテインメントとクラスタ
- ヘッドアップ表示
- テレマティクス制御装置
- 車載用ヘッドユニット
- アフターマーケット・オーディオ・アンプ
- 車載アクティブノイズキャンセレーション
- 車載用外付けアンプ
- バッテリ管理システム(BMS)
- 商業用
- モータドライブ
- ACドライブ制御モジュール
- AC駆動電力段モジュール
- サーボ駆動制御モジュール
- サーボ駆動電力段モジュール
- ファクトリーオートメーションと制御
- モバイルロボットのモーター制御
- テレコムとサーバ電力
- マーチャントDC/DC
- 加盟店ネットワークおよびサーバーPSU
- マーチャント・テレコム整流器
- UPS
- 三相UPS
- 単相オンラインUPS
- モータドライブ
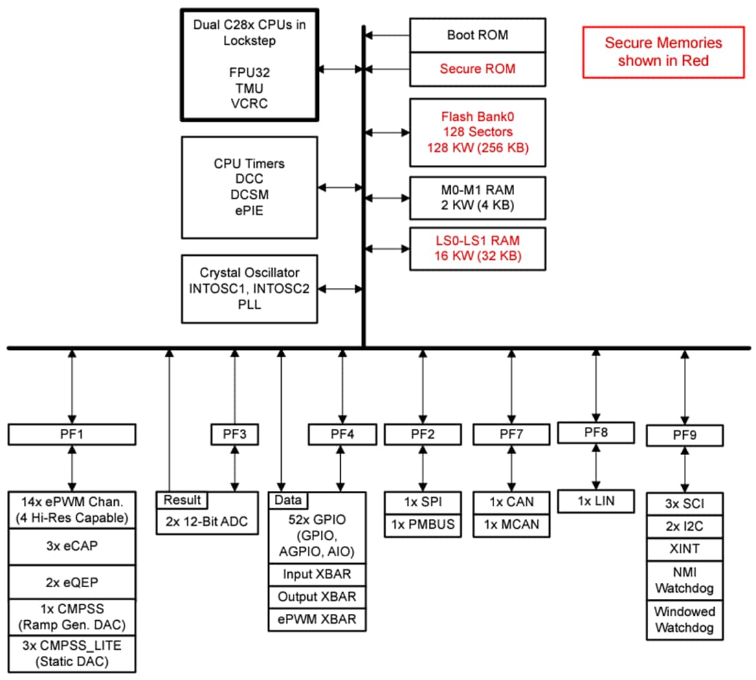
機能ブロック図
その他の資料
公開: 2023-08-03
| 更新済み: 2025-05-06
