Texas Instruments TMS320VC5416固定小数点デジタル信号プロセッサ
Texas Instruments TMS320VC5416固定小数点デジタル信号プロセッサ(DSP)は、1つのプログラムメモリバスと3つのデータメモリバスがある高度修正ハーバード・アーキテクチャに基づいています。このプロセッサは、高レベルの並列性、アプリケーション固有のハードウェア論理、オンチップメモリ、追加のオンチップペリフェラルが備わっている演算論理ユニット(ALU)を実現しています。Texas Instruments TMS320VC5416の運用上の柔軟性と速度の基礎は、非常に特殊な命令セットです。個別のプログラムとデータスペースによって、プログラム命令とデータへの同時アクセスが可能になり、高レベルの並列性を実現できます。2つの読取動作と1つの書込動作は、単一サイクルで実行できます。並列ストアをともなう命令およびアプリケーション固有の命令は、このアーキテクチャを完全に活用できます。また、データとプログラムスペースの間でデータを転送できます。このような並列性は、単一の機械サイクルで実行できるパワフルな演算、論理、ビット操作動作のセットをサポートしています。デバイスには、割り込み、反復操作、機能呼び出しを管理する制御メカニズムも搭載されています。
特徴
- 3つの個別の16ビット対応データ・メモリ・バスと1つのプログラム・メモリ・バスが搭載されている高度マルチバス・アーキテクチャ
- 40ビット対応バレル・シフタと2つの独立した40ビット対応アキュムレータが搭載されている40ビット演算論理ユニット(ALU)
- 40ビット専用加算器に結合されている17×17ビット並列乗算器(非パイプライン化シングルサイクル乗算/累算(MAC)演算用)
- Viterbiオペレータの追加/比較選択のための比較、選択、保管ユニット(CSSU)
- 単一サイクルでの40ビット対応アキュムレータ値の指数値を計算するための指数エンコーダ
- 8つの補助レジスタと2つの補助レジスタ演算装置(ARAU)が搭載されている2台のアドレス発生器
- バスホルダ機能が搭載されたデータバス
- 8M × 16ビットの最大アドレス可能外部プログラム空間用の拡張アドレッシングモード
- で構成される128K × 16ビット対応オンチップRAM
- 8K × 16ビット対応オンチップ・デュアルアクセス・プログラム/データRAMの8つのブロック
- 8K × 16ビット・オンチップ・シングルアクセス・プログラムRAMの8つのブロック
- プログラムメモリ用に構成された16K × 16ビット・オンチップROM
- 強化された外部パラレル・インターフェイス(XIO2)
- プログラムコード用のシングル命令リピートおよびブロックリピート動作
- より良いプログラムとデータ管理のためのブロックメモリ移動命令
- 32ビット対応の長ワード・オペランドによる命令
- 2オペランドまたは3オペランドの読取に関する説明
- 並列ストアと並列ロードを使用する算術命令
- 条件付きストア指示
- 割り込みからの高速回復
- オンチップペリフェラル
- ソフトウェアでプログラミングできる待機状態発生器、プログラミングできるバンクスイッチング
- オンチップ・プログラマブル位相ロック・ループ(PLL)クロック発生器(外部クロックソース搭載)
- 16ビットタイマ1個
- 6チャンネル対応ダイレクトメモリアクセス(DMA)コントローラ
- 3つのマルチチャンネルバッファシリアルポート(McBSP)
- 8/16ビット拡張パラレル・ホストポート・インターフェイス(HPI8/16)
- パワーダウン・モードを活用したIDLE1、IDLE2、IDLE3命令による電力消費制御
- CLKOUTを無効にするCLKOUTオフ制御
- オンチップ・スキャンベースのエミュレーションロジック、IEEE Std 1149.1(JTAG)バウンダリスキャン・ロジック
- 144ピン・ボール・グリッド・アレイ (BGA) (末尾がGGU)
- 144ピン低背クワッド・フラットパック (LQFP) (末尾がPGE)
- 6.25nsシングルサイクル固定小数点命令実行時間(160 MIPS)
- 8.33nsシングルサイクル固定小数点命令実行時間(120 MIPS)
- 3.3V I/O供給電圧(160および120 MIPS)
- 1.6Vコア供給電圧(160 MIPS)
- 1.5Vコア供給電圧(120 MIPS)
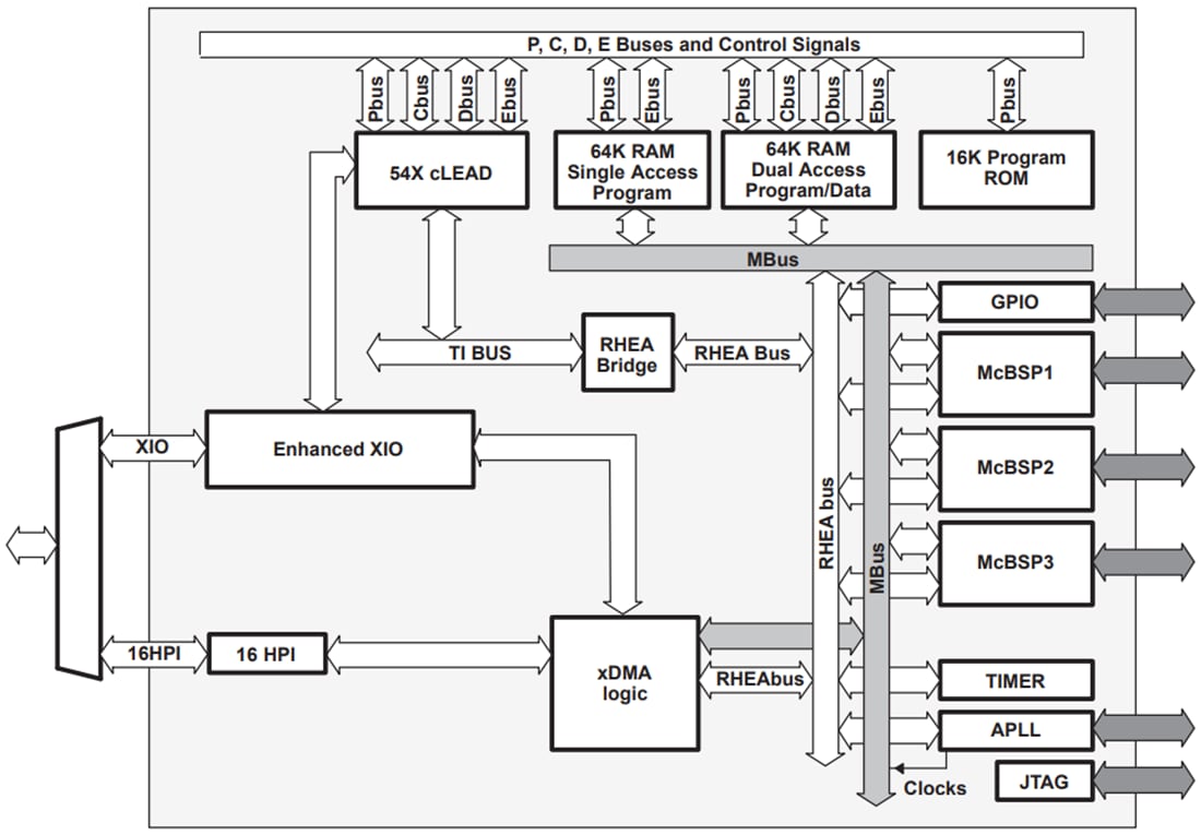
機能ブロック図
公開: 2020-07-15
| 更新済み: 2024-07-03
