このデバイスは、デジタル式ステータス出力が搭載された完全診断をサポートしています。オープン負荷検出は、オン状態とオフ状態で可能です。このデバイスは、MCUあり/なしの動作に対応しています。スタンドアローン・モードによって、絶縁システムによるデバイスの使用が可能になります。
特徴
- 車載アプリケーション向けに品質評価済み
- AEC-Q100で品質評価済み、結果は以下のとおりです。
- デバイス温度グレード1: –40°C~125°Cの動作周囲温度範囲
- デバイスHBM ESD分類レベルH2
- デバイスCDM ESD分類レベルC4B
- シングルチャンネル200mΩスマート・ハイサイド・スイッチ
- 広い動作電圧: 3.4V~40V
- 超低スタンバイ電流< 500nA
- 外部抵抗による調整可能電流制限
- ≥ 500mAの場合で±15%
- ≥ 1.5Aの場合に±10%
- 電流制限後の構成可能な動作
- 保持モード
- 調整可能な遅延時間を用いたラッチオフモード
- 自動再試行モード
- MCUなしでスタンドアロン動作に対応
- 保護
- GND検出に対する短絡と過負荷保護
- サーマルシャットダウンとサーマルスイング
- 誘導負荷のための負電圧クランプ
- GND喪失、バッテリ喪失保護
- 診断
- GND検出に対する過負荷や短絡
- ONまたはOFF状態でのオープン負荷および短絡検出
- サーマルシャットダウンとサーマルスイング
アプリケーション
- ボディ照明
- インフォテインメント・システム
- 先進運転支援システム(ADAS)
- サブモジュール用のシングルチャンネル・ハイサイド・スイッチ
- 一般的な抵抗性、誘導性および容量性負荷
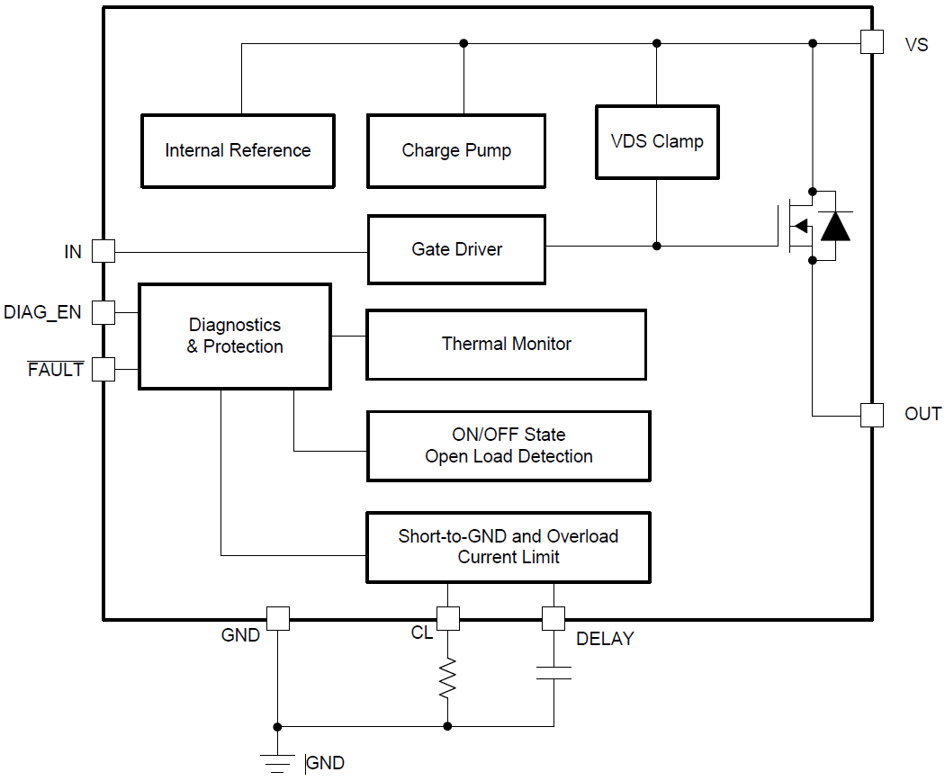
機能ブロック図
公開: 2018-07-24
| 更新済み: 2025-03-06

