Texas Instruments TPS27SA08/TPS27SA08-Q1スマート高圧側スイッチ
TTexas Instruments TPS27SA08/TPS27SA08-Q1スマート高圧側スイッチは、シングルチャンネル・スマート高圧側スイッチで、24V供給システムとの併用を目的としています。このデバイスには、堅牢な保護機能と診断機能が統合されており、短絡のような有害事象が発生した場合であっても出力ポートが確実に保護されます。デバイスは、信頼性の高い電流制限によって障害から保護します。デバイスの型式に応じて、スイッチを瞬時にオフにしたり、セットポイント(公称20A)での出力電流の安定化を図ることによって過電流事象に反応するように構成できます。TPS27SA08/TPS27SA08-Q1は、さまざまな負荷特性を駆動している際の診断を改善できる高精度アナログ電流センスも実現しています。このデバイスを使用すると、負荷電流、デバイス温度、供給電圧をシステムMCUに報告することによってシステムの寿命を延長する予測保守と負荷診断が可能になります。Texas Instruments TPS27SA08/TPS27SA08-Q1は、小型16ピンHTSSOPパッケージでご用意があり、PCBフットプリントを削減できます。特徴
- 標準9mΩ RON (TJ = 25°C)が備わっているシングルチャンネル・スマート高圧側スイッチ
- 過電流保護による信頼性の向上
- 電流制限閾値は公称20A
- 閾値に達した際の電流制限(クランプ)
- 堅牢な統合出力保護
- 熱保護内蔵
- 接地と供給ショートに対する保護
- 逆供給時の自動FETスイッチON
- 供給と接地が切断された際の自動シャットOFF
- 誘導性負荷を消磁する内蔵出力クランプ
- 構成可能な障害処理
- アナログ検出出力は、以下を正確に測定するよう設定可能
- 負荷電流
- 供給電圧
- デバイス温度
- MCUに戻るFLT表示を実現
- OFF状態でのオープン負荷の検出、GNDに対するショート
アプリケーション
- 工業用モータ駆動
- 発熱体
- センサー素子ヒーター
- タンク・ヒーター
- 大電流デジタル出力
- 誘導性負荷
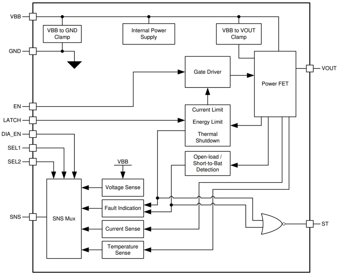
機能ブロック図
公開: 2020-12-02
| 更新済み: 2024-10-07
