デュアルチャンネル・ハイサイド・スイッチは、高精度のアナログ電流センスも備えているため、優れた負荷診断を実現します。このTPS2HB16-Q1スイッチは、負荷電流とデバイス温度をシステムのMCUに報告することで、予知保全と負荷診断が可能になり、システムの寿命が長くなります。Texas Instruments TPS2HB16-Q1スイッチはHTSSOPパッケージで供給されるため、PCBの占有面積も削減できます。これらのTPS2HB16-Q1デバイスは、車載アプリケーション向けにAEC-Q100認定済みです。主なアプリケーションは、ADASモジュール、トランスミッション制御ユニット、シート・コンフォート・モジュール、ボディ・コントロール・モジュール、車載ディスプレイ・モジュールなどです。
特徴
- 車載アプリケーションに対応
- 下記内容でAEC-Q100認定済み
- デバイス温度グレード1
- 動作時周囲温度範囲 TA = -40°C~125°C
- デバイスHBM ESD分類レベル2
- デバイスCDM ESD分類レベルC4B
- 40Vの負荷ダンプへの耐性
- デバイス温度グレード1
- 16mΩ RON (TJ = 25°C) のデュアルチャネル・スマート・ハイサイド・スイッチ
- 可変電流制限によるシステム・レベルの信頼性の向上
- 電流制限値は4.1A~48.5Aの範囲で設定可能、60Aに内部で固定
- SNSピンによるフォルト通知
- オープン負荷およびバッテリへの短絡の検出
- 堅牢な出力保護機能を内蔵
- 熱保護内蔵
- グランド/バッテリへの短絡に対する保護
- 逆電圧による自動スイッチ・オンを含むバッテリ逆接続からの保護
- バッテリ/接地が切断された際の自動シャットOFF
- 誘導性負荷を消磁する内蔵出力クランプ
- 構成可能な障害処理
- アナログ検出出力は、以下を正確に測定するよう設定可能
- 負荷電流
- デバイス温度
アプリケーション
- 車載用ディスプレイモジュール
- 先進運転支援システム(ADAS)モジュール
- シートコンフォートモジュール
- トランスミッション制御装置
- 過熱、換気、空調(HVAC)制御モジュール
- ボディコントロールモジュール
- 白熱灯およびLED照明
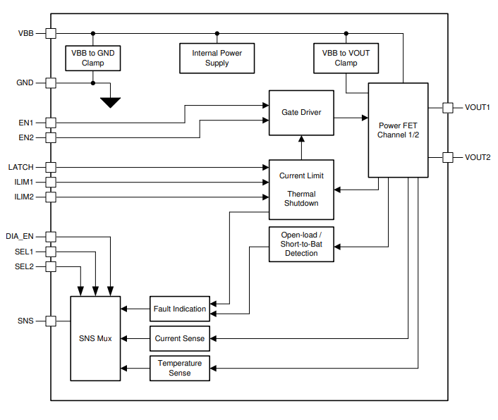
ブロック図
公開: 2020-01-08
| 更新済み: 2025-03-06

