Texas Instruments TPS653851A-Q1マルチレール電源
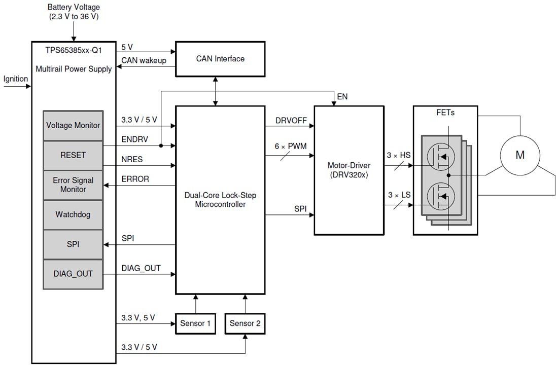
Texas Instruments TPS653851A-Q1マルチレール電源は、自動車業界で見られるような、安全に関連するアプリケーションでのマイクロコントローラを供給するように設計されています。デバイスは、デュアルコアLockStep(LS)およびその他のマルチコアアーキテクチャが備わった機能安全マイクロコントローラに対応しています。TPS653851A-Q1は、複数の電源レールを統合し、MCU、CANまたはFlexRayと外部センサに電力を供給しています。内部FETを搭載した昇降圧コンバータは2.3V~36Vの入力バッテリ電圧を、6Vプリレギュレータ出力に変換し、他のレギュレータに電力を供給します。統合充電ポンプは、内部レギュレータ用オーバードライブ電圧を提供し、外部NMOS FETを逆バッテリ保護として駆動するために使用することもできます。このデバイスは、点火装置(IGNピン)信号からのウェイクアップまたはCANトランシーバまたは他の信号(CAN_WUピン)からのウェイクアップに対応します。デバイス内部の独立した電圧監視装置は、バッテリ供給のすべての内部電源レールとレギュレータ出力での低電圧と過電圧を監視します。レギュレータの電流制限と温度保護も実装されています。TPS653851A-Q1は、質問応答Watchdog、MCUエラー信号モニタ、内部発振器でのクロック監視、クロックモニタでのセルフチェック、不揮発性メモリとSPI通信での巡回冗長性検査(CRC)が特徴です。また、MCUがデバイス内部アナログシグナルとデジタルシグナルを観察できる診断出力ピン、MCU(NESピン)用のリセット回路、および任意の検出されたシステム故障での外部電力段を無効にする安全出力(ENDRVピン)も特徴です。デバイスは、起動時に自動的に内蔵自己テスト(BIST)を実行します。また、必要に応じてMCUは、システム実行時間中にソフトウェア制御を介してBISTを再実行できます。専用の診断状態によってMCUは、TPS653851A-Q1の機能をチェックできます。
TPS653851A-Q1には、SPIレジスタを介したエラー報告機能もあります。デバイスには、SPIレジスタにおいて、システムレベルまたはデバイスレベルの特定のエラーごとに個別のステータスビットがあります。デバイスが特定のエラー状態を検出すると、適切なステータスビットが設定され、このステータスビットが設定されたSPIレジスタをMCU読み出すまで、このステータスビットが設定されたままになります。どのステータスビットが設定されいるかに基づいて、MCUは、システムを安全な状態に保つ必要があるかどうか、あるいはシステムの動作を再開できるかどうかを判断できます。Texas Instruments TPS653851A-Q1は、自動車アプリケーションを対象としたAEC-Q100の認定を受けています。
特徴
- 自動車アプリケーション向けに品質評価済
- AEC-Q100で品質評価済み、結果は以下のとおり
- デバイス温度グレード1:-40°C~+125°Cの周囲動作温度
- デバイスHBM ESD分類レベル2
- デバイスCDM ESD分類レベルC4B
- 入力電圧範囲
- 初期バッテリ電源投入時向け7〜36V
- 最初にバッテリ電源投入後の4~36Vフル機能
- ウェイクアップ後の動作時最低2.3V
- 供給レール(内部FET搭載)
- 6V同期バックブースト・プリレギュレータ
- 5V、285mA LDO(CAN、周辺機器またはADC REF 1%精度、20~120mA負荷)
- 3.3Vまたは5V、350mA LDO(MCU)TPS653851A-Q1
- センサ供給または周辺機器を対象とした保護された2つのLDO
- センサ供給1(VSOUT1)で120mA、センサ供給2(VSOUT2)で100mA
- 構成可能な追跡モード(トラッキング入力ピン)、または3.3Vあるいは5V固定出力電圧
- 短絡とバッテリ保護
- 充電ポンプ:最小6V、最大11V以上のバッテリ電圧
- 監視と保護
- すべてのレギュレータ出力、バッテリ電圧、内部供給での独立した低電圧および過電圧モニタリング
- 別のバッテリ電圧入力ピンから供給される独立したバンドギャップ・リファレンス、
- すべての電圧モニタリングでのセルフチェック(外部MCUによるパワーアップ中およびパワーアップ後)
- 電流制限および過熱事前警告とシャットダウンによって保護されたすべての電源
- マイクロコントローラインターフェイス
- ウィンドウの開/閉または質問と回答のウォッチドッグ機能
- 機能安全MCU障害出力(PWMまたはレベル)、MCUエラー信号モニタの監視
- デバイスの自己テストおよびシステム診断の実行のための診断状態
- 検出されたシステム障害に応じたデバイスとシステム保護のための安全な状態
- 内部発振器用のクロックモニタ
- アナログおよび論理内蔵自己テスト
- 不揮発性メモリ上のCRC、ならびにデバイスとシステム構成レジスタ、SPI通信
- MCU用リセット回路
- 診断出力ピン
- コマンドデ + データのCRC付きSPI
- システムレベルとデバイスレベルでのエラーのためのSPIレジスタによるエラー報告
- 任意に検出されたシステム故障に応じた外部電源ステージの無効化のためのイネーブルドライブ出力
- IGNピン(点火装置)またはCAN_WUピン(トランシーバまたはその他の機能)からのウェイクアップ
- 48ピンHTSSOP PowerPAD™ ICパッケージ
アプリケーション
- 車載用安全関連アプリケーション
- 産業安全関連アプリケーション
標準的なアプリケーション図
