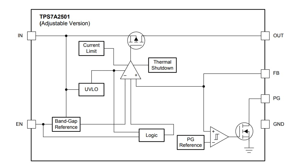
TPS7A25には、固定バージョンと調整可能バージョンの両方があり、1%出力安定化精度が備わっていて、マイクロコントローラ(MCU)リファレンスの正確な安定化を実現しています。固定電圧バージョンは外部レジスタが不要で、プリント回路基板(PCB)領域が最小限に抑えらえています。この調整可能バージョンには、1.24V~17.64Vに設定するフィードバック・レジスタが採用されており、さらなる柔軟性または出力電圧を目的としています。
TPS7A25 LDOには、最大降下電圧が300mAの電流で360mV未満という効率的な動作があります。この最大降下電圧によって、5.4Vの入力電圧 (VIN) から5.0V出力電圧 (VOUT) で92.5%という効率性が実現します。パワーグッド(PG)インジケータは、電源が正常になるまでMCUをリセット状態に保持したり、シーケンス処理に使用できます。PGピンには、オープンドレイン出力があり、ピンをVOUT以外のレールでモニタリングするために簡単にレベルシフトできます。負荷短絡が発生した場合には、内蔵電流制限とサーマルシャットダウンが障害保護レギュレータの保護に役立ちます。
特徴
- 超低IQ: 2µA
- 入力電圧: 2.4V~18V
- 出力電圧範囲オプションを利用可能:
- 固定1.25V~5V:
- 調整可能: 1.24V~17.64V
- 温度全体で1%の精度
- 低ドロップアウト: 300mAで340mV(最大)
- オープンドレイン、パワーグッド出力
- サーマルシャットダウンおよび過電流防止
- アクティブオーバーシュートプルダウン
- 動作接合部温度: –40°C~+125°C
- 1μF出力コンデンサで安定的
- パッケージ: 6ピンWSON
アプリケーション
- ホーム・ビルディングオートメーション
- マルチセル・パワーバンク
- スマート・グリッドとメータ計測
- ポータブル電動工具
- モータドライブ
- 白物家電
- ポータブル機器
標準アプリケーション回路
ブロック図
公開: 2019-05-20
| 更新済み: 2023-09-18

