Texas Instruments TPS92365xブースト/バックブーストLEDドライバ
Texas Instruments TPS92365x非同期ブースト/バックブーストLEDドライバには、4.5V ~ 65Vの広い入力範囲があります。低圧側NMOSスイッチを統合することにより、LEDを駆動し、高電力密度と高効率でバッテリを充電できます。これらのデバイスは、1.5A (TPS922650)、3A (TPS922651、TPS922652、TPS922653)、6.5A (TPS922654、TPS922655)の標準的な電流制限でご用意があります。TPS92365xは、共通アノード接続と単層PCB設計にも対応しています。スイッチング周波数は、より良いEMI性能を目的としたオプションのスペクトラム拡散機能を用いて、100kHz ~ 2.2MHzの間で構成できます。TPS92365xは、アナログ、PWM、ハイブリッド、柔軟性の4つの調光オプションをサポートしています。各調光方法は、シンプルな高信号と低信号を使用してPWMおよびADIM入力ピンを介して構成できます。TPS92365xには、適応型オフタイム電流モード制御およびスマートで正確なサンプリングが採用されており、誘導高速調光(IFD) を可能にして高い調光精度を達成できます。
Texas Instruments TPS92365xは、LEDオープンとショート、センスレジスタのオープンとショート、構成可能なサーマルフォールドバック、サーマルシャットダウンをはじめとする複数の体系的な保護を実現しています。障害出力は、障害状態が検出されるとすぐに認識信号を送信します。
特徴
- CC/CV充電モード
- 完全保護機能
- LEDオープンおよびショート保護
- スイッチングFETオープンおよびショート保護
- 外付け部品の障害保護
- サイクルバイサイクル電流制限
- 熱シャットダウン
- 障害出力(オープンドレイン)
- 構成可能な熱フォールドバック曲線
- VSON、WSON、SOT-23パッケージオプション
アプリケーション
- 一定の照明
- 屋内、屋外、業務用照明
- 医療、外科用照明
- プロジェクタ、レーザーTV、プリンタ、IPカメラ
- インスタント照明
- マシンビジョン、カメラフラッシュ
- 火災警報器、ストロボ
- CCおよびCVソース
- LCDバックライト
- バッテリ充電
- TEC制御
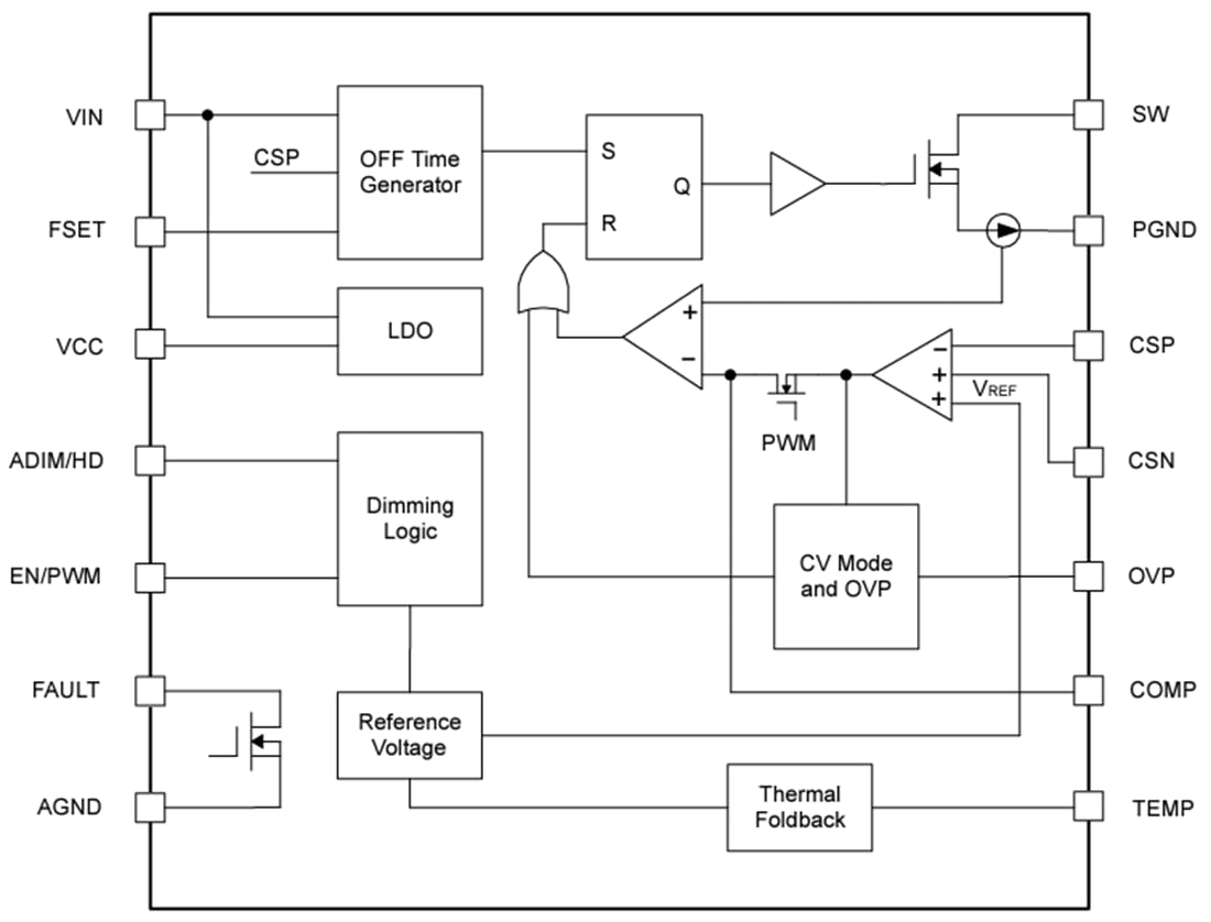
機能ブロック図
公開: 2023-12-13
| 更新済み: 2025-03-05
