Texas Instruments TPS92830-Q1定電流LEDドライバ
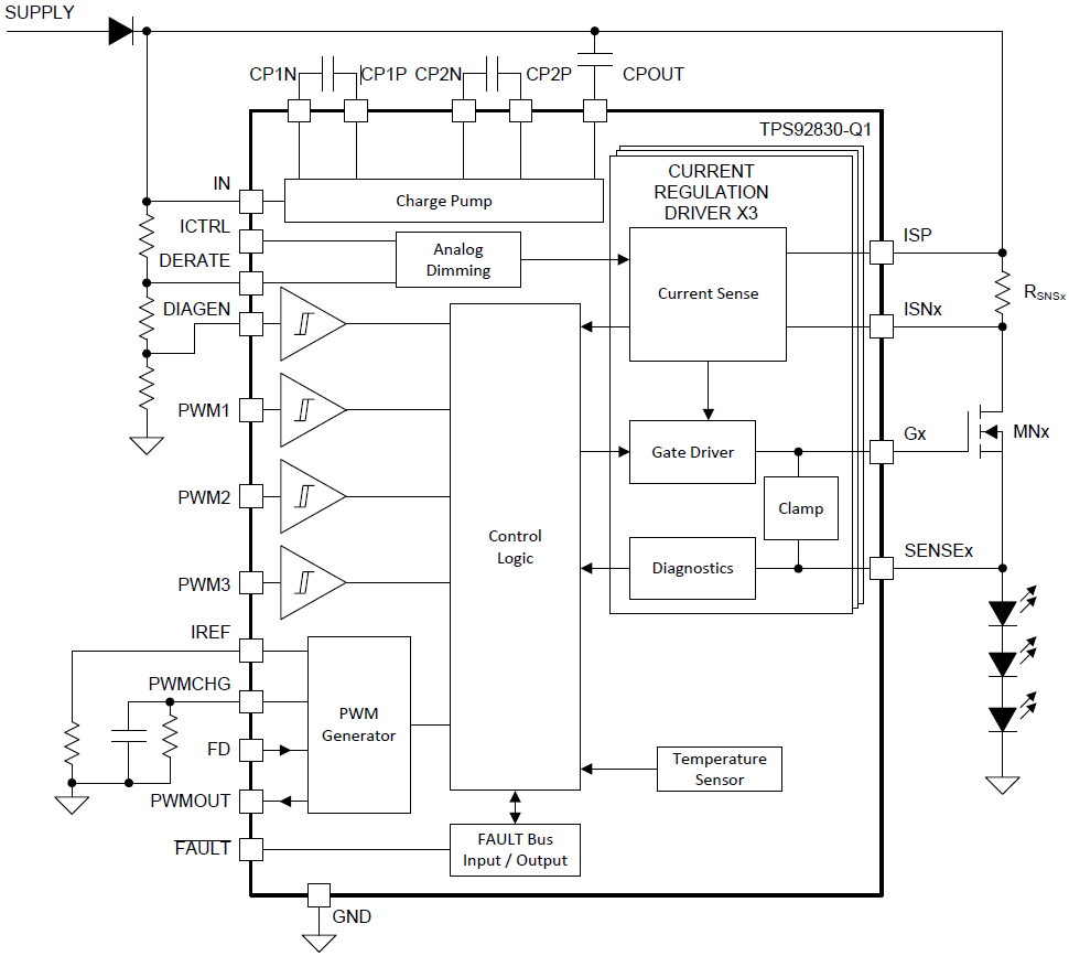
Texas Instruments TPS92830-Q1定電流LEDドライバは、高度な車載グレードのハイサイド定電流リニアLEDコントローラで、外部NチャンネルMOSFETを使用した高電流の供給を目的としています。このデバイスには車載アプリケーションのフル機能セットがあり、幅広いNチャネルMOSFETとの互換性があります。TPS92830-Q1デバイスの各チャンネルは、センス-レジスタ値によってチャンネル電流を個別に設定します。内部高精度定電流安定化ループは、センス抵抗の両端の電圧でチャンネル電流を検知し、それに応じてNチャンネルMOSFETゲート電圧を制御します。また、このデバイスには、2段充電ポンプが統合されており、低ドロップアウト動作を目的としています。充電ポンプ電圧は、幅広い選択肢のNチャンネルMOSFETをサポートする上で十分な高さです。PWM調光によって、内部PWMジェネレータ、外部PWM入力、または電源調光の柔軟性を目的に複数ソースを使用できます。車載アプリケーション用に特別に設計されたさまざまな診断と保護機能は、システムの堅牢性と使いやすさの向上に役立ちます。1フェイル-全フォールトバスは、TPS92630-Q1、TPS92638-Q1、TPS9261x-Q1ファミリと一緒にTPS92830-Q1動作をサポートしており、さまざまな障害処理要件を満たしています。Each channel of the TPS92830-Q1 sets the channel current independently by the sense-resistor value. An internal precision constant-current regulation loop senses the channel current by the voltage across the sense resistor and controls the gate voltage of the N-channel MOSFET accordingly. The device integrates a two-stage charge pump for low-dropout operation. The charge-pump voltage is high enough to support various N-channel MOSFETs. PWM dimming allows multiple sources for flexibility—external PWM inputs, internal PWM generators, or power supply dimming. Various protection and diagnostics features are specially designed for automotive applications to help improve system robustness and ease of use. A one-fails–all-fail fault bus supports the Texas Instruments TPS92830-Q1 operation with the TPS92630-Q1, TPS92638-Q1, and TPS9261x-Q1 family to fulfill various fault-handling requirements.
特徴
- AEC-Q100認定
- デバイス温度グレード1: –40°C~125°C 動作周囲温度範囲
- デバイスHBM ESD分類レベルH2
- デバイスCDM ESD分類レベルC4B
- 広い電圧入力範囲4.5V~40V
- 3チャンネルハイサイド電流駆動およびセンシング
- チャンネル独立電流設定
- チャンネル独立PWM入力
- PWM入力および電源の両方を経由したPWM調光
- EMC用に最適化されたスルーレート
- 高精度のLED駆動
- 外部NチャンネルMOSFET(2.5%公差)が備わった高精度電流安定化
- オフボードビンレジスタサポートによる20:1アナログ調光特性
- 完全デューティーサイクル・マスク(2%公差)が備わった高精度PWMジェネレータ
- 同期のためのオープンドレインPWM出力
- 保護と診断
- 外部MOSFET熱保護用の調整式出力電流ディレーティング
- オートリカバリ機能でのLEDストリング開回路や短絡の診断
- 低電圧動作の調整式閾値が備わった診断イネーブル
- フォールトバスは最大15個のデバイスで、1フェイル/すべてフェイルまたは1つフェイル/チャンネルオフ、のいずれかの構成で構成可能
- 障害モードでの低自己消費電流(
- 動作接合部温度範囲: –40°C~150°C
- TSSOP 28パッケージ(PW)
アプリケーション
- リアライト – テールとストップライト、リアターンインジケータ、フォグライト、逆光
- フロントライト – ポジションライト、デイタイムランニングライト、フロントターンインジケータ、ロービーム
ビデオ
機能ブロック図
