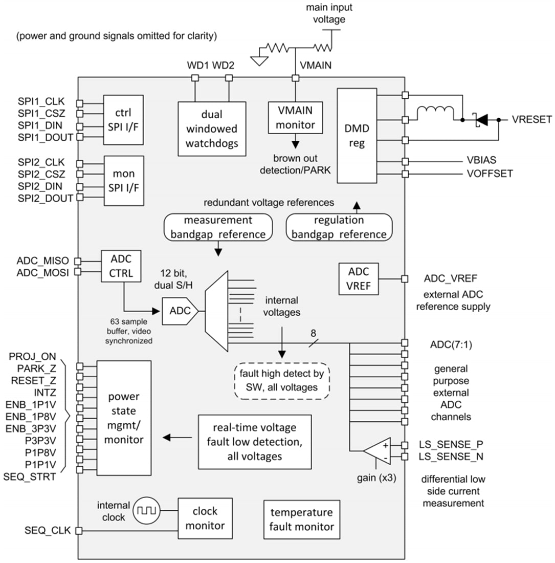
Texas Instruments TPS99001-Q1コントローラには、制御システムのコア部品の1つとして12ビットADCが統合されています。ADCは、1ビデオフレームあたり最大63の事象を自動サンプリングする能力があります。
高度システムステータス監視回路は、ディスプレイ・サブシステムの動作状態をリアルタイムで可視化します。これらの条件には、2つのプロセッサ・ウォッチドッグ回路、2つのダイ温度モニター、過電圧と低電圧検出のための包括的な供給監視があります。その他の条件には、SPIバストランザクションおよびその他の内蔵試験機能でのバイトレベルのパリティが備わったチェックサムとパスワードレジスタ保護があります。
特徴
- 車載アプリケーション向けに品質評価済
- AEC-Q100で品質評価済み、結果は以下のとおり
- –40°C~105°C周囲動作温度(温度グレード2)
- デバイスHBM ESD分類レベル2
- デバイスCDM ESD分類レベルC4B
- TI DLP®製品を対象とした車載システムマネジメント装置
- 高度電力監視、シーケンシング、保護回路
- 2台のダイ温度モニタ、MCU外部ウォッチドッグタイマ、クロック周波数モニタ
- パリティ、チェックサム、パスワードレジスタ保護が備わっているSPIポート
- 独立したシステム監視のための2番目のSPIポート
- オンチップDMDミラー電圧レギュレータ
- +16V、+8.5V、–10V DMD制御電圧を生成
- 1フレームあたり最大63倍のシーケンスサンプルが備わった12ビットADC
アプリケーション
- 車載用の高度な照明アプリケーション(高解像度ヘッドライト)
- 適応型駆動ビーム(ADB)
機能ブロック図
公開: 2021-03-04
| 更新済み: 2025-02-27

