Texas Instruments TPSM82866C降圧 MagPack™パワーモジュール
Texas Instruments TPSM82866C降圧MagPack™パワーモジュールは、インダクタとI2Cインタフェイスを内蔵した超小型6A降圧モジュールです。このモジュールは、寸法がわずか2.3mmx3mmのMagPackパッケージで5.5Vの入力を特徴とし、面積1mm2 あたり約1Aの電力密度を供給します。TI のMagPackテクノロジーは、同期降圧コンバータとインダクタを統合し、設計を簡素化し、PCB 面積の節約、外付け部品の削減を実現します。I2Cインターフェイスは、出力電圧の調整、新しい設定値に移行する際のVOUT ランプレートの設定、および熱警告や電流制限フラグなどのステータス情報の読み出しに効果的です。過熱保護とヒカップ短絡保護により、堅牢で信頼性の高い設計が実現します。Texas Instruments TPSM82866C降圧MagPackパワーモジュールは、コンパクトで効率的であり、標準的な表面実装装置による自動組み立てに最適です。特徴
- 最大96%の効率
- 優れた熱性能
- 最大3.4MbpsのI2C互換インターフェイス
- I2Cプログラム可能
- 出力電圧
- 0.4: 1.675V(5mVステップ)
- 0.8: 3.35V(10mVステップ)
- 強制PWMまたは省電力モード
- 出力電圧放電
- 出力電圧
- I2Cデバイス・ステータスのリードバック
- 熱警告
- ヒカップ電流制限
- UVLO以下のVin
- 抵抗選択可能
- I2Cアドレス
- 16の起動出力電圧オプション
- 1%の出力電圧精度
- 高速過渡応答のためのDCS制御トポロジー
- 4µA 動作時静止電流
- 低EMI要件向けに最適化済
- ボンドワイヤーパッケージなし
- MagPackテクノロジーでインダクタとICをシールド
- 最適化されたピン配列による簡素化されたレイアウト
- 動作温度範囲:-40°C~+125°C
- 2.3mm x 3mm x 1.95mmのQFNパッケージ
- 28mm2 設計サイズ
アプリケーション
- FPGA、CPU、ASICへのコア供給
- 光学モジュール
- 医療用画像処理
- ファクトリーオートメーションと制御
- 航空宇宙・防衛
標準アプリケーション図
効率性
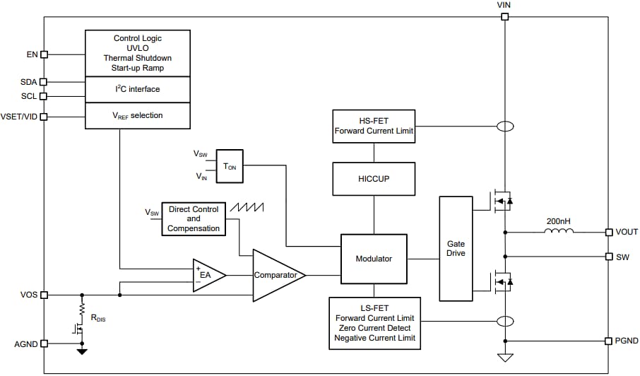
機能ブロック図
その他の資料
公開: 2024-07-18
| 更新済み: 2025-01-29
