Texas Instruments TSD5402-Q1クラスDセンサ駆動アンプ
Texas Instruments TSD5402-Q1 クラスDセンサ駆動アンプは、車載および工業アプリケーションに最適です。これらのアプリケーションには、リゾルバベースのモータ制御、ブレーキシステム、電動パワーステアリング、サーボ、飛行制御表面がありますが、これらに限定されません。Texas Instruments TSD5402-Qは、広範な動作電圧範囲と優れた効率性により、設計の柔軟性を必要とするアプリケーションに最適です。統合ロード負荷保護によって、外部の電圧クランプのコストとサイズ、およびI2Cを介したオンボード負荷診断レポートが削減されます。統合された短絡負荷および開放負荷診断機能により、システムは外部実装を避けることができます。特徴
- AEC-Q100認定を受けた自動車アプリケーションに対応しており、動作温度範囲はグレード1の–40°C〜125°C(TA)です。
- Mono BTLデジタルパワーアンプ
- 10%THD+Nで4Ωに対して出力電力8W
- 動作範囲 4.5V~18V
- 4Ωへの83%効率性
- 差動アナログ入力
- パワーガード保護機能(調整可能な電圧リミッタ)
- 電源排除比(PSRR):75dB
- 負荷診断機能
- オープン/短絡出力負荷
- 電力に対する出力およびアースに対する出力ショート
- 保護と監視機能
- 短絡保護
- ISO 7637-2あたり40V負荷ダンプ保護
- 出力DCレベル検出
- 温度過昇保護
- 過電圧と不足電圧保護
- PowerPAD™パッケージ(パッドダウン)の熱的に強化された16ピンHTSSOP(PWP)パッケージ
- 車載EMC要件に対応した設計
- ISO9000(2002 TS16949認証済)
- 負荷ダンプ保護:40V(スタンバイ時)
- スタンバイ時のノンブロッキングI2C
アプリケーション
- リゾルバベースの自動車および産業用アプリケーション
- HEV/EVインバータおよびモーター制御
- 電動パワーステアリング(EPS)
- リアビューミラーモジュール
- 車載eMirrors
- サーボ駆動電力段モジュール
- 飛行制御システム
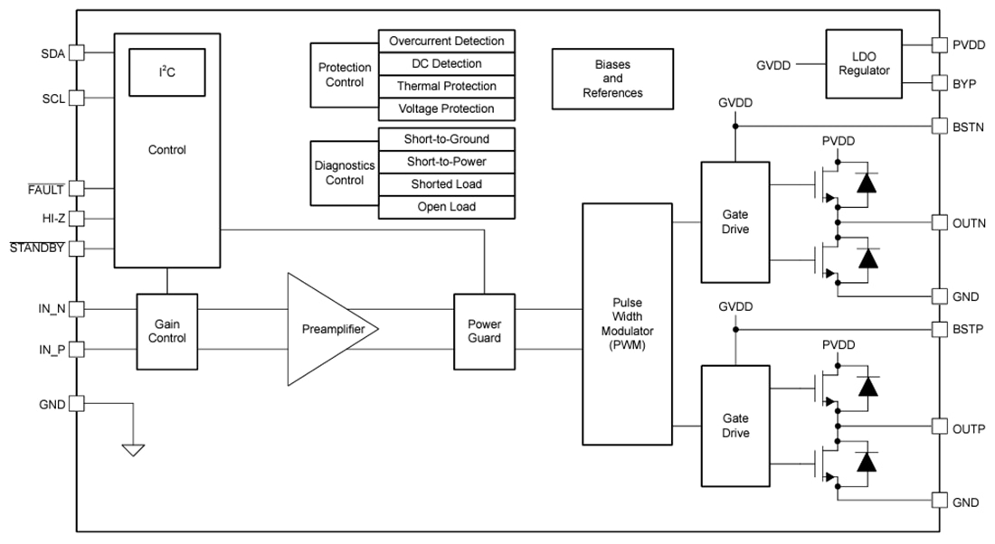
機能ブロック図
その他のリソース
公開: 2024-10-30
| 更新済み: 2025-05-09
