Texas Instruments TUSB542 USB Type-C 5Gbpsリドライバ
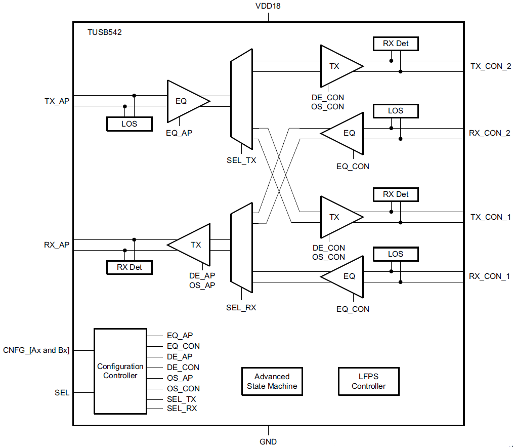
Texas Instruments TUSB542 USB Type-C 5Gbpsリドライバは、デュアルチャンネルUSB 3.1 Gen1リドライバで、USB Type-Cコネクタを使用したシステムに対応しています。このデバイスには、シグナルコンディショニングに加えてUSB Type-CフリッパブルコネクタのUSB SS信号を切り替える能力が備わっています。TUSB542は、正しく信号を多重化するために、外部構成チャネルロジックコントローラのSELピンで制御できます。TUSB542には、レシーバイコライゼーションと送信デエンファシスが組み込まれており、送信および受信データパス両方でのシグナルインテグリティを維持します。このレシーバイコライゼーションには複数のゲイン設定が備わっており、挿入損失およびシンボル間干渉からチャネル劣化を防止します。下流側の伝送線路損失を補償するために、この出力ドライバは、デエンファシス設定に対応しています。また、自動LFPSデエンファシス制御によって、完全コンプライアンスが可能になります。特徴
- USB Type-C™ポートのUSB 3.1 Gen-1 5Gbp Super Speed (SS) 2:1 Muxを提供
- USB Type-Cケーブルとコネクタの仕様をサポート
- 超低消費電力アーキテクチャ
- アクティブ: 100mA
- U2/U3: 1.3mA
- 接続なし: 300μA
- 選択可能なイコライゼーション最大9dB、デエンファシス、出力スイング最大6dB
- 統合型終端
- RX検出機能
- パワーマネジメント用の信号モニタリング
- ホスト/デバイス側の要件なし(USB-C DFP、UFPまたはDRPポートをサポート)
- 単供給電圧: 1.8V ±10%
- -40°C~85°Cの工業温度範囲
アプリケーション
- USB 3.1 Gen 1 SSアプリケーション
- 電話
- タブレット、ファブレット、ノートブック
- ドッキングステーション
機能ブロック図
公開: 2016-06-01
| 更新済み: 2022-03-11
