Texas Instruments TXS0104V/TXS0104V-Q1 4ビット電圧変換器
Texas Instruments TXS0104V/TXS0104V-Q1 4ビットレベルシフティング電圧変換器は、個別に構成できる電源レール2本が採用されている非反転変換器です。Aポートは、1.65V ~ 3.6Vの任意の電源電圧を受け入れるVCCA を追跡するように設計されてています。VCCAはVCCB 以下でなければなりません。Bポートは、2.3V ~ 5.5Vの任意の電源電圧を受け入れるVCCB を追跡するように設計されています。この機能によって、1.8V、2.5V、3.3V、 5V電圧ノード間の低電圧双方向変換が可能になります。出力イネーブル(OE)入力が低の場合、すべての出力が高インピーダンス状態に配置されます。TXS0104V/TXS0104V-Q1は、VCCA からOE入力回路に給電されるように設計されています。パワーアップまたはパワーダウン時の高インピーダンス状態を対象に、プルダウンレジスタを使用してOEをGNDに接続します。ドライバの電流ソース能力によって、レジスタの最小値が決定されます。TXS0104V-Q1は、自動車アプリケーションを対象としたAEC-Q100認定を受けています。
特徴
- 指向性制御信号は不要
- 最大データレート
- 24Mbps (プッシュプル)
- 2Mbps(オープンドレイン)
- Aポート:1.65V ~ 3.6V、Bポート:2.3V ~ 5.5V(VCCA ≤ VCCB)
- 電源シーケンスが不要(VCCA またはVCCB のいずれからでも立ち上げ可能)
- ラッチアップ性能は、JESD 78、class IIで100mA超
- JESD22を上回るESD保護能力
- Aポート
- 2,000V人体モデル (A114-B)
- 500Vデバイス帯電モデル(C101)
- Bポート
- 5,000V人体モデル (A114-B)
- 500Vデバイス帯電モデル(C101)
- Aポート
アプリケーション
- ハンドセット
- スマートフォン
- タブレット
- デスクトップPC
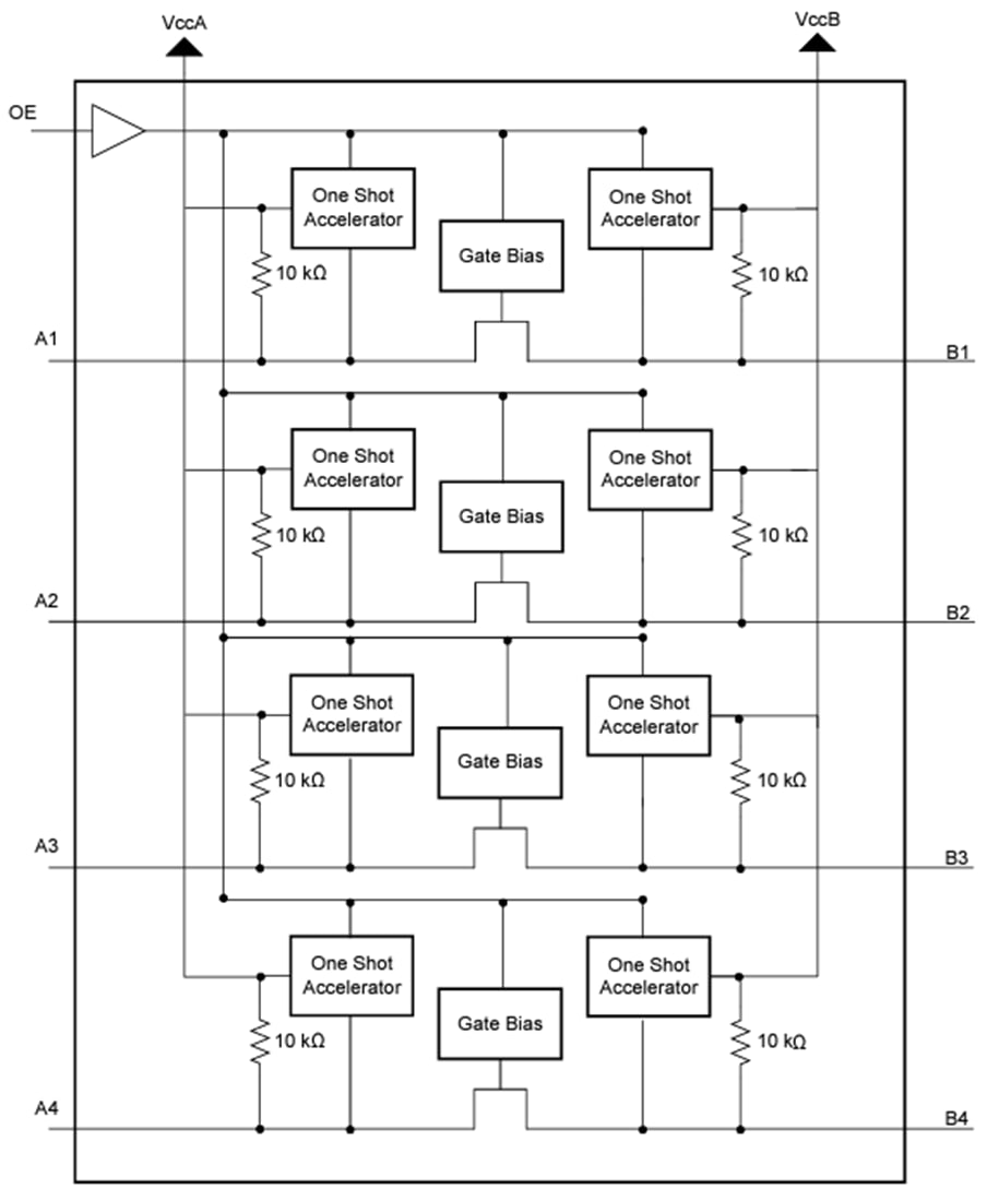
機能ブロック図
公開: 2024-11-07
| 更新済み: 2025-05-09
