Texas Instruments UCC21717-Q1 絶縁型シングルチャンネル・ゲートドライバ
Texas Instruments UCC21717-Q1 絶縁型シングルチャネル ゲートドライバは、最大1700VのSiC MOSFETおよびIGBTを駆動するように設計されています。先進的な内蔵保護機能、優れたダイナミック性能、および堅牢性を備えています。UCC21717-Q1は、最大±10Aのピークソース/シンク電流を供給できます。入力側はSiO2 容量性絶縁技術によって出力側から絶縁されており、最大1.5kVRMS の動作電圧、および絶縁バリア寿命が40年を超える12.8kVPK のサージ耐性をサポートしています。また、小さい部品間スキューと150V/ns以上のコモンモードノイズ耐性(CMTI)を実現しています。Texas Instruments UCC21717-Q1には、高速過電流および短絡検出、シャント電流センシングサポート、障害報告、アクティブミラークランプ、入力と出力側電源UVLOといった最先端の保護機能が搭載されており、SiCおよびIGBTスイッチング動作と堅牢性を最適化できます。絶縁アナログ- PWMセンサは、温度または電圧センシングをさらに簡単にするために活用でき、ドライバの汎用性を向上させ、システム設計労力、サイズ、コストを簡素化できます。
特徴
- 5.7kVRMS のシングルチャンネル絶縁型ゲートドライバ
- 車載アプリケーション向けAEC-Q100認定
- デバイス温度グレード0(-40°C~+150°C動作周囲温度範囲)
- デバイスHBM ESD分類レベル3A
- デバイスCDM ESD分類レベルC6
- 機能安全品質-管理
- 機能安全システムの設計に役立つ資料を利用可能
- 最大2121Vpk のSiC MOSFETおよびIGBT
- 最大出力ドライブ電圧(VDD-VEE):33V
- ±10Aドライブ強度とスプリット出力
- 150V/ns最低CMTI
- 270ns応答時間高速過電流保護
- 4A内部アクティブミラークランプ
- 故障状態の下での400mAソフトターンOFF
- PWM出力を備えた絶縁型アナログセンサ
- NTC、PTCまたは熱ダイオードによる温度センシング
- 高電圧DC-Linkまたは位相電圧
- 過電流時のアラームFLTとRST/ENからのリセット
- RST/ENによるデバイスの無効化によるソフトターンオフ
- 40ns未満のノイズ過渡および入力ピンでのパルスを拒否
- 12V VDD UVLO(RDYのパワーグッド付き)
- 最大5Vのオーバー/アンダーシュート過渡電圧耐性を備えた入力/出力
- 130ns (最大)伝播遅延および30ns (最大)パルス/部品スキュー
- 沿面距離と空間距離が8mm以上のSOIC-16 DWパッケージ
- 動作時の接合部温度 -40°C~150°C
アプリケーション
- EV用トラクションインバータ
- オンボード充電器と充電パイル
- DC/DCコンバータ(HEV/EV用)
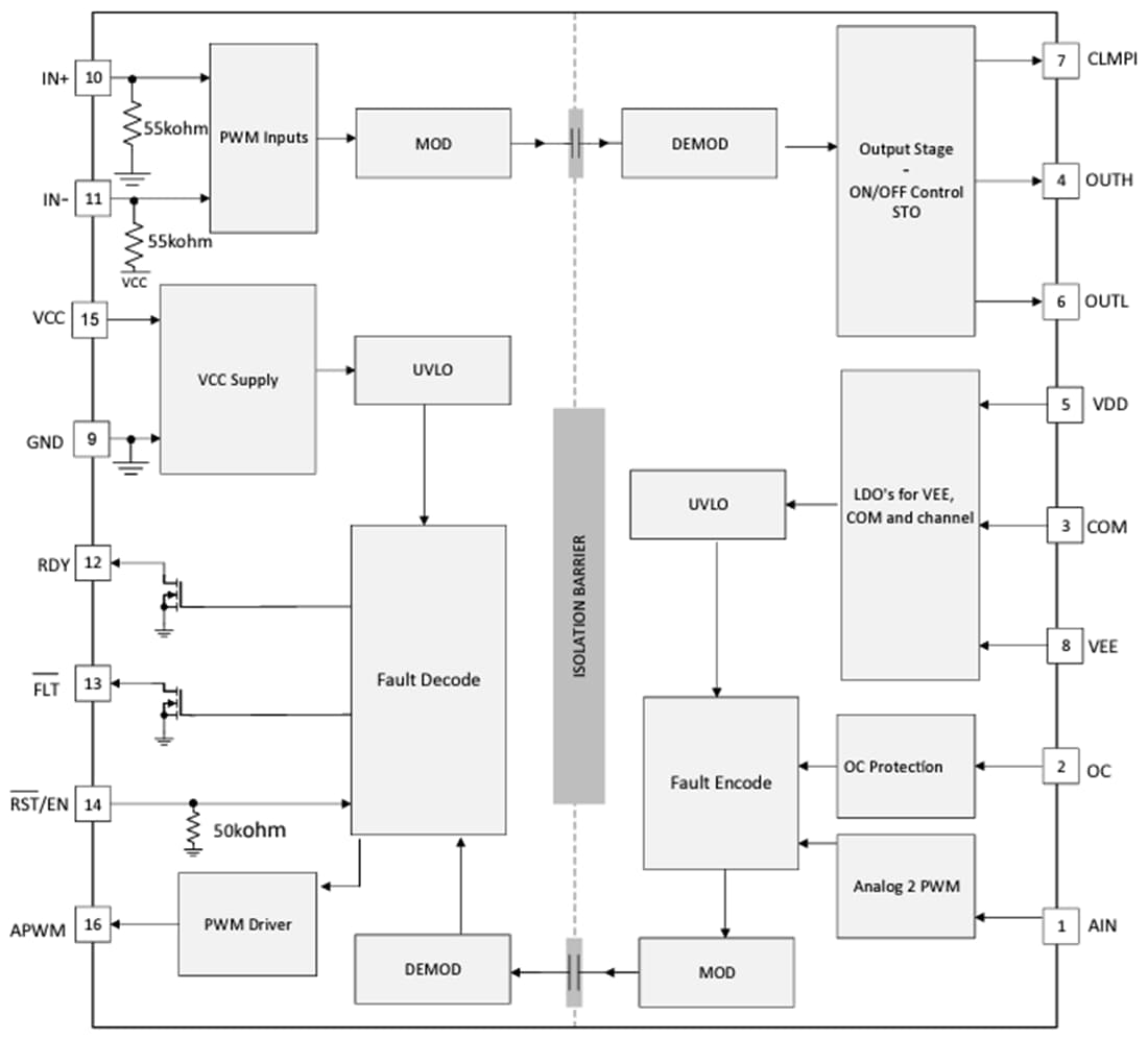
機能ブロック図
公開: 2023-08-28
| 更新済み: 2025-03-06
