入力側は、SiO2 容量絶縁技術を用いて出力側から絶縁されています。この機能は、最大1.5kVRMS までの作動電圧および12.8kVPK サージ耐性をサポートしており、40年以上の絶縁バリア寿命が備わっています。また、部品間スキューが低く、150V/nsのコモンモードノイズ耐性(CMTI)も実現しています。
Texas Instruments UCC21737-Q1には、高速過電流および短絡検出、障害報告、シャント電流センシングサポートといった最先端の保護機能が搭載されています。また、アクティブミラークランプ、入力および出力側電源UVLOもあり、SiCおよびIGBTスイッチング動作と堅牢性を最適化できます。ASC機能を活用して、システム障害発生時にを強制的にオンにできます。この機能によってドライバの汎用性が向上し、システム設計労力、サイズ、コストが簡素化されます。
特徴
- 5.7kVRMS シングルチャンネル絶縁ゲートドライバ
- AEC-Q100で品質評価済み、結果は以下のとおり
- 周囲動作温度範囲(デバイス温度グレード0):-40°C~+150°C
- デバイスHBM ESD分類レベル3A
- デバイスCDM ESD分類レベルC6
- SiC MOSFETおよびIGBT最大2121Vpk
- 最高出力駆動電圧(VDD-VEE)33V
- ±10Aドライブ強度とスプリット出力
- 150V/ns最低CMTI
- 270ns応答時間高速過電流保護
- 外部アクティブミラークランプ
- 故障が発生した場合の900mAソフトターンOFF
- システム障害時に電源スイッチをオンにするための絶縁側のASC入力
- 過電流でのアラームFLT、RST/ENからのリセット
- RST/ENでの高速有効/無効応答
- 入力ピンの40ns未満のノイズ過渡とパルスを除去
- RDYでのパワーグッドが備わった12V VDDUVLO および-3VEE UVLO
- 最大5Vまでのオーバー/アンダーシュート過渡電圧耐性がある入力/出力
- 130ns (最大)伝播遅延および30ns (最大)パルス/部品スキュー
- 沿面距離と空間距離が8mm以上のSOIC-16 DWパッケージ
- 動作時の接合部温度 -40°C~150°C
アプリケーション
- EV用トラクションインバータ
- オンボード充電器と充電パイル
- DC-to-DCコンバータ(HEV/EV用)
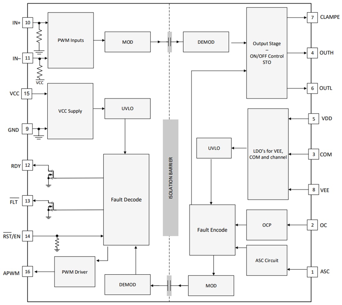
機能ブロック図
公開: 2022-10-14
| 更新済み: 2025-03-11

