Texas Instruments UCC21756-Q1絶縁型シングルチャンネル・ゲートドライバ
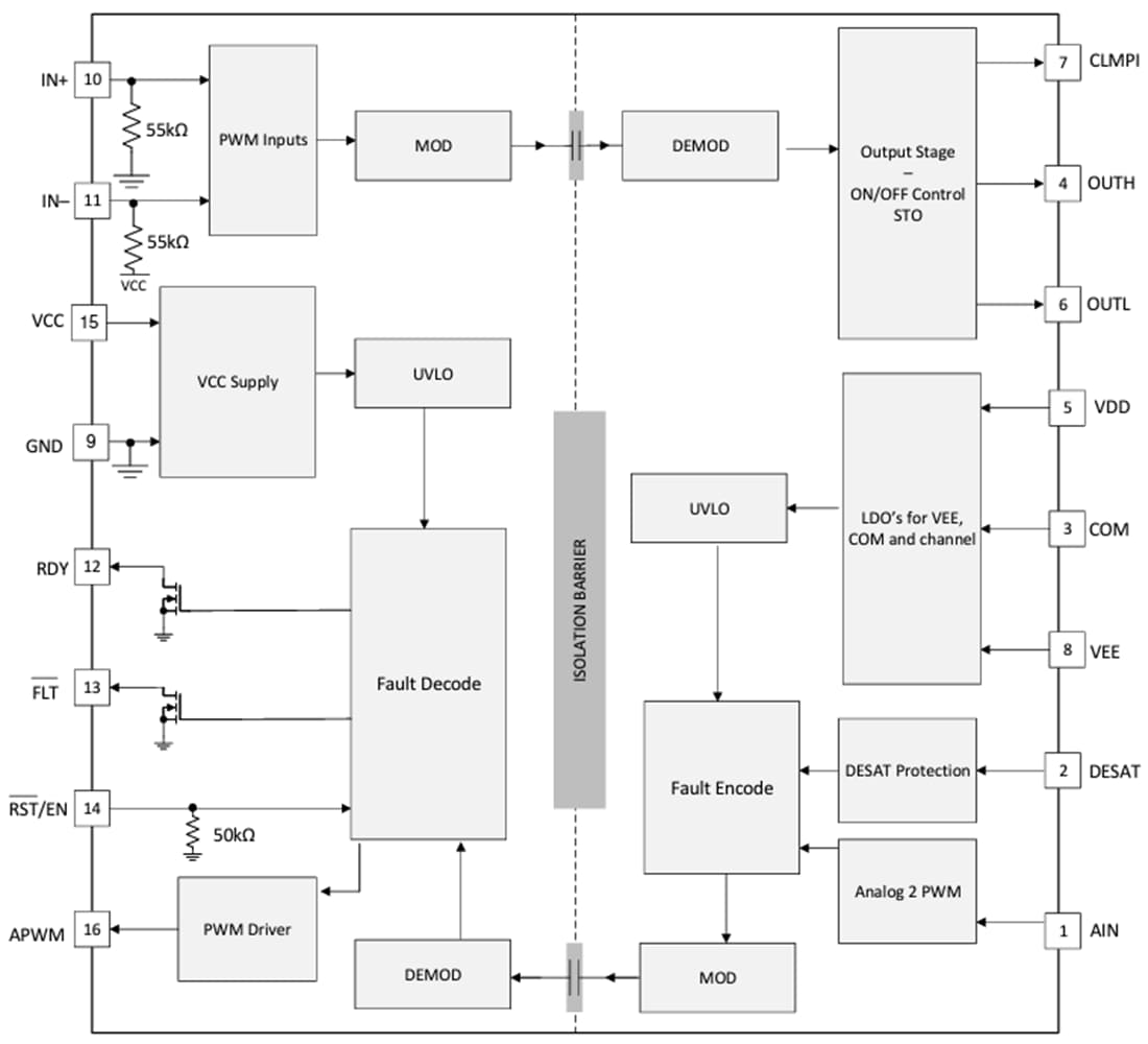
Texas Instruments UCC21756-Q1絶縁シングルチャンネルゲートドライバは、SiC MOSFETおよびIGBT最高2,121V DC動作電圧向けに設計されており、高度な保護機能、ベストインクラスのダイナミック性能、堅牢性が備わっています。UCC21756-Q1は、最大±10Aのピークソースおよびピークシンク電流を供給できます。入力側はSiO2 容量性絶縁技術によって出力側から絶縁され、最大1.5kVRMS の動作電圧をサポートし、40年以上の寿命の絶縁バリアにより、12.8kVPK のサージ耐性を備えるとともに、部品間スキューが小さく、150V/nsを超える同相ノイズ耐性(CMTI)を実現しています。Texas Instruments UCC21756-Q1には、過電流および高速短絡検出、障害報告、アクティブミラークランプといった最先端の保護機能が搭載されています。入出力側電源UVLOも搭載されており、SiCおよびIGBTスイッチング動作と堅牢性を実現できます。アナログからPWMへ信号を変換するこの絶縁型センサは、温度や電圧のセンシングが簡単で、ドライバの汎用性をさらに高め、システムの設計工数、サイズ、コストを簡素化できます。
特徴
- 5.7kVRMS のシングルチャネル絶縁型ゲートドライバ
- 下記の結果でAEC-Q100認定済み
- 周囲動作温度範囲(デバイス温度グレード0):-40°C~+150°C
- デバイスHBM ESD分類レベル3A
- デバイスCDM ESD分類レベルC6
- 機能安全品質-管理
- 機能安全システムの設計に役立つ資料を利用可能
- 最高2121Vpk のSiC MOSFETおよびIGBT
- 最高出力駆動電圧(VDD-VEE)33V
- ±10Aドライブ強度とスプリット出力
- 150V/ns最低CMTI
- 5Vの閾値で200nsの応答時間高速DESAT保護
- 4A内部アクティブミラークランプ
- 故障が発生した場合の900mAソフトターンOFF
- PWM出力を備えた絶縁型アナログセンサ
- NTC、PTCまたは熱ダイオードによる温度センシング
- 高電圧DC-linkまたは位相電圧
- 過電流およびRST/ENからのリセットでのアラームFLT
- RST/ENでの高速イネーブル/ディセーブル応答
- 入力ピンの40ns以下のノイズ過渡およびパルスを除去
- 12VVDD UVLO(RDYによるパワーグッド通知付き)
- 最大5Vのオーバーシュートまたはアンダーシュート過渡電圧に耐える入力/出力
- 伝搬遅延時間 130ns以下、パルス/部品スキュー 30ns以下
- 沿面距離と空間距離が8mm以上のSOIC-16 DWパッケージ
- 動作接合部温度: -40°C~150°C
アプリケーション
- トラクション・インバータ(EV用)
- オンボード充電器と充電器
- DC/DCコンバータ(HEV/EV用)
機能ブロック図
その他の資料
公開: 2023-05-05
| 更新済み: 2025-03-06
