Analog Devices Inc. AD4129 16ビット・シグマ‐デルタADC
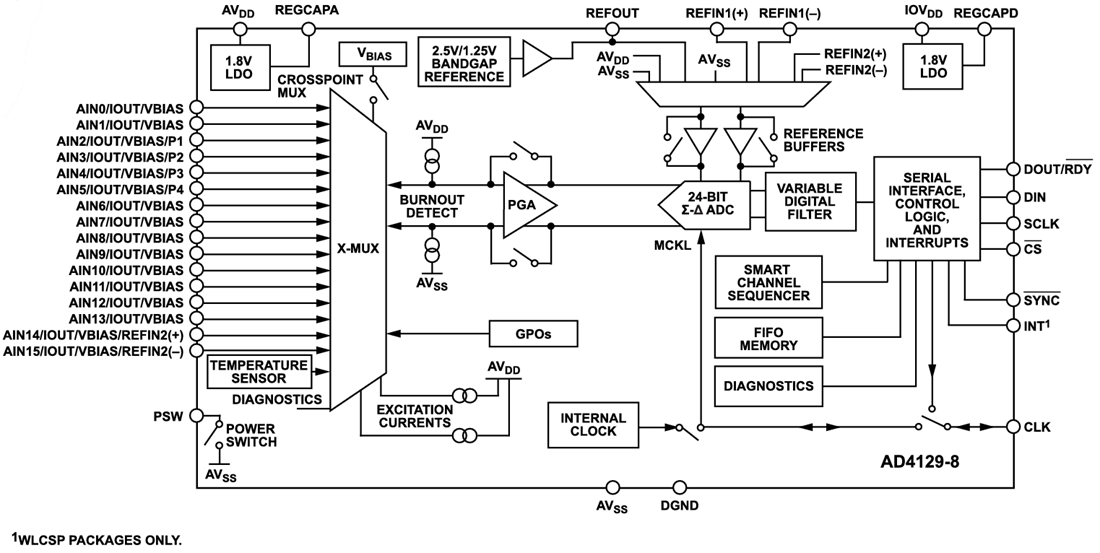
Analog Devices AD4129 16ビット・シグマ‐デルタADC(アナログ/デジタル・コンバータ)は、低帯域幅バッテリ駆動アプリケーション向けの超低電力・高精度測定ソリューションです。完全統合アナログ・フロントエンド(AFE)には、最大16個のシングルエンド入力または 8個の差動入力に対応するマルチプレクサ、プログラム可能なゲインアンプ(PGA)、16 ビット・シグマ‐デルタ(Σ-Δ)ADC、オンチップのリファレンスおよび発振器が含まれます。このデバイスには、選択可能なフィルタ・オプション、スマート・シーケンサー、センサ・バイアス、励起オプション、診断、先入れ先出し(FIFO)バッファと負荷サイクリングも含まれています。AD4129では、負荷サイクルオプションのいずれかを使用する場合、平均電流を連続的に変換し、さらには低い平均電流を維持しながら、28.5μA (ゲイン =1) および32.5μA (ゲイン =128) の消費電流で低周波信号を測定できます。8つの差動入力、または16個のシングルエンドや擬似差動の入力を持つようにAD4129-8を構成し、これらの入力はクロスポイント・マルチプレクサに接続され、どの入力ペアもPGAとADCへの測定チャンネル入力になることができます。
Analog Devices AD4129は、1.71V~3.6Vの単一アナログ電源電圧で動作するように設計されています。バッテリ アプリケーションでは、バッテリ電圧が消滅しても、AFEが動作を継続できるため、1.71Vという低電圧動作によってシステムの寿命を延ばすことができます。デジタル電源は独立しており、1.65V~3.6Vの範囲です。消費電流の低減により、オンチップFIFOバッファをスマート・シーケンサと統合することで、AD4129が自律測定システムとなり、マイクロコントローラが長時間スリープ状態になることができます。
インテリジェントな割り込み機能性により、エラー検出と安全性に対する信頼性が向上します。FIFOのサンプルが事前定義された値に達したとき、またはユーザーがプログラム可能なしきい値を超えたときにトリガする割り込み信号を有効にします。高レベルの統合フロントエンド機能性と小型パッケージオプションの組み合わせにより、より小型のエンド・ソリューションが可能になります。例えば、AD4129は低い熱ドリフト・バンド・ギャップリファレンスを統合しており、外部差動リファレンスを受け入れ、内部バッファリングすることができます。
安全性が重視されるアプリケーションで、AD4129には、バーンアウト電流による断線検出、内部温度センサ、基準検出、アナログ入力の過電圧/不足電圧検出などの診断機能が含まれています。デジタルインターフェイスには、堅牢な通信リンクのための巡回冗長性検査(CRC)やシリアルインターフェイス・チェックなどの診断機能が追加されています。
特徴
- 超低消費電流 (標準)
- 32µA連続変換モード(ゲイン = 128)
- 5µAデューティサイクルモード(比率 = 1/16)
- 待機モード0.5µA
- 0.1µA(電源切断モード)
- システムレベルの省電力のための内蔵機能
- 省電流デューティサイクル比1/4または1/16
- スマートシーケンサおよびチャネルごとの構成によるホストプロセッサ負荷の最小化
- ディープ組み込みFIFOによってホストプロセッサ負荷を最小化(256サンプルの深度)
- 自律FIFO割り込み機能、閾値検出
- 最低で1.71Vの単電源によりバッテリの使用時間を延ばす
- 1.17SPS (ゲイン = 128) で25nV rms ~ 48nV/√Hz RMSノイズ
- 最大22のノイズフリービット(ゲイン= 1)
- 1.17SPS~2.4kSPSの出力データレート
- 単電源1.71V~3.6Vまたはスプリット電源±1.8Vで動作
- 最高ドリフト15ppm/°Cのバンドギャップ・リファレンス
- レールツーレールのアナログ入力を活用したPGA
- 適応型センサインターフェイス接続機能
- RTDに対応したプログラム可能な励起電流
- オンチップバイアス電圧ジェネレータ(熱電対用)
- 下側電源スイッチ(ブリッジトランスデューサ用)
- センサの裸線検出
- 内部温度センサと発振器
- 自己/システム較正
- 柔軟性に富んだフィルタオプション
- (選択したフィルタオプションでの)同時50Hz/60Hz除去
- 汎用出力
- 診断機能
- クロスポイント多重入力
- 8個の差動/16個の擬似差動入力
- 5MHz SPI (3線式または4線式)
- 35ボール、2.74mm×3.6mm WLCSP (AD4129-8) または32リード、5mm×5mm LFCSP (AD4129-4) で利用可能
- -40°C~+105°C温度範囲
アプリケーション
- スマートトランスミッタ
- ワイヤレスバッテリおよび環境発電駆動センサノード
- ポータブル計測機器
- 温度測定:熱電対、RTD、サーミスタ
- 圧力測定:ブリッジトランスデューサ
- ヘルスケアとウェアラブル
機能ブロック図
| 部品番号 | データシート | 説明 |
|---|---|---|
| AD4129-4BCPZ-RL7 | ![]() |
アナログ・デジタルコンバータ - ADC Ultra-Low Power, 4ch Sys 16 Bit S-? ADC |
| AD4129-8BCBZ-RL7 | ![]() |
アナログ・デジタルコンバータ - ADC Ultra-Low Power Hi Integrated 16 Bit ADC |

