ADI ADRF5144は、+3.3Vの正の供給で130μA、および-3.3Vの負の供給で510μAの低電流を消費します。このデバイスには、相補型金属酸化膜半導体 (CMOS) /低電圧トランジスタ対トランジスタロジック (LVTTL) 互換制御が活用されています。ADRF5144にはドライバ回路を追加する必要がなく、GaNおよびPINダイオードベースのスイッチの優れた代替品となります。
また、ADRF5144は、負の供給電圧(VSS) が接地に接続されていると同時に、正の単供給電圧 (VDD) を印加して機能することもできます。小信号性能は、スイッチング特性、直線性、電力処理性能がディレーティングされながら、この動作条件で維持されます。
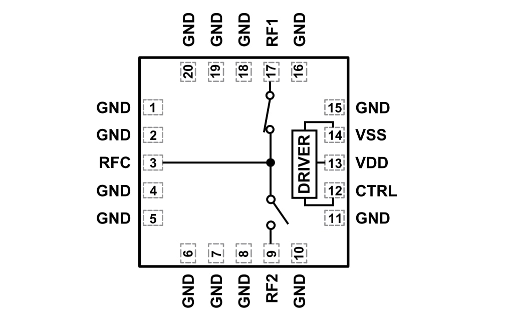
ADRF5144は、20-lead、3.0mm × 3.0mm、RoHS準拠、ランドグリッドアレイ(LGA) パッケージでご用意があり、-40°C ~ +85°Cで動作します。
特徴
- 広帯域周波数範囲: 1GHz ~ 20GHz
- 低周波数スプリアスなし
- TCASE = +85°Cのハイパワー対応:
- 挿入損失パス:
- 平均40dBm
- 43dBmのパルス(> 100nsパルス幅、15%デューティサイクル)
- 44dBmのピーク(100ns未満のピーク持続時間、5%負荷サイクル)
- 37dBmのホットスイッチング
- 挿入損失パス:
- 通常0.8dBから20GHzの低挿入損失
- 52dB (標準) ~ 20GHz高絶縁
- 高い入力直線性
- 44dBmで0.1dB電力圧縮(P0.1dB)
- > 70dBmの3次インターセプト(IP3)
- 120dBmの2次インターセプト(IP2)
- PIN < 37dBmでの0.1dB RF整定時間750ns
- 正の制御インターフェイス、CMOS/LVTTL互換
- 20-lead、3.0mm × 3.0mm LGAパッケージ
- ADRF5141とのピン互換性あり
アプリケーション
- 軍用ラジオ、レーダー、電子妨害手段
- Satcom
- テスト機器
- GaNおよびPINダイオード交換
その他のリソース
ビデオ
ブロック図
公開: 2023-12-18
| 更新済み: 2024-07-29

