Analog Devices Inc. EVAL-CN0390-EB1Z回路評価ボード
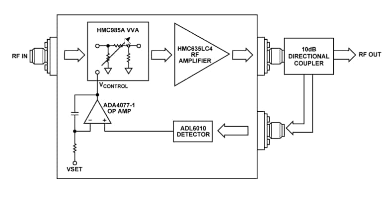
Analog Devices EVAL-CN0390-EB1Z回路評価ボードは、CN0390 20GHz~37.5GHz RF自動ゲイン制御(AGC)回路の性能を評価します。AGC回路は、シンセサイザの振幅安定化、トランスミッタにおける出力電力の制御、レシーバにおけるダイナミック・レンジの最適化といった、数多くの機能に役立ちます。この回路には、ADL6010エンベロープ検出器、CN0390 ADA4077-1高精度アンプ、HMC985A GaAs電圧可変アッテネータ、HMC635 GaAs RFアンプが統合されています。ACGの性能指数は20~30GHzです。アプリケーションには、マイクロ波計測およびレーダーベースの測定システムがあります。The CN0390 Circuit integrates the ADL6010 Envelope Detector, ADA4077-1 High Precision Amplifier, HMC985A GaAs Voltage Variable Attenuator, and HMC635 GaAs RF Amplifier. The ACG figure of merit is between 20GHz and 30GHz. Analog Devices Inc. EVAL-CN0390-EB1Z Circuit Evaluation Board is ideal for microwave instrumentation and radar-based measurement systems.
特徴
- 20GHz to 37.5GHz RF automatic gain control
- Wide input amplitude range
- Low phase noise
Block Diagram
公開: 2017-07-11
| 更新済み: 2022-04-18
