Analog Devices / Maxim Integrated MAX22216 ソレノイド&モータードライバ
Analog Devices/Maxim IntegratedMAX22216ソレノイドとモータードライバ4つのプログラム可能36Vハーフブリッジを統合し、ハーフブリッジあたり最大3.2AFSまで対応可能です。その他の機能としては、オープンロード検出、インダクタンス測定、プランジャの動作検知、デジタル電流センスモニターなどの高度な診断機能があります。高度診断機能によって、システムの信頼性が向上し、予測保守が可能になります。MAX22216クワッドスマートシリアル制御ソレノイドとモータドライバは、電圧/電流駆動安定化、省電力用の2レベル・シーケンサ、ディザリング機能、ランプアップ/ダウン制御、電流リミッタ搭載DCモータ駆動、集積電流センスをはじめとする高度制御方法が特徴です。ハイサイド/ローサイド・シングルエンドドライブ操作、ブリッジ・タイド負荷(BTL) 構成、チャネル並列化、電圧制御、電流制御、混合方式をサポートしています。アナログ・デバイセズ (Analog Devices)/Maxim Integrated MAX22216ソレノイドとモータドライバは、ハーフブリッジ電圧を制御する電圧駆動安定化(VDR)モードが特徴で、供給変動は内部補償されています。保護には、過電流(OCP)、過温度(OTP)、低電圧ロックアウト(UVM)があります。このモジュールは、5mm x 5mm TQFN32パッケージでご用意があります。
特徴
- 低RON で、効率が高い
- 高い柔軟性:
- 独立したチャンネル設定
- ハイサイド/ローサイド/ブリッジ結合負荷
- 構成/パラレル・モードをサポート
- 高度な制御方法:
- 電圧/電流駆動レギュレーション
- 省電力のための2レベルのシーケンサ
- 電流リミッタ付きDCモーター・ドライブ
- ディザリング機能
- ランプアップ/ランプダウン制御
- 消磁電圧制御
- 統合電流センス
- 診断機能:
- 反応時間と移動時間の測定
- プランジャの動き検出
- オープン負荷検出
- インダクタンス測定
- デジタル電流検出モニタ
- フルセットの保護機能:
- 過電流保護
- 過熱保護
- 低電圧ロックアウト
アプリケーション
- ソレノイド・オンオフ・バルブおよびリレー
- DCモーター
- 比例バルブ
- 双安定ラッチ・ソレノイド・バルブ
- リアルタイム電流測定機能付きスイッチング・ドライバ
- デジタル出力インターフェイス
仕様
- 4xシリアル制御36Vハーフブリッジ
- 1.7A DC(TA = 25°C)および3.2Aフルスケール電流容量
- 電源電圧範囲 4.5V~36V
- ロジック入力電源電圧範囲 2.2V~5.25V
- 出力漏れ電流:-5µA~5µA
- 動作温度範囲: -40°C~+125°C
ビデオ
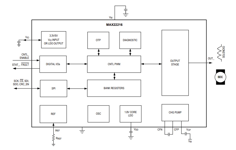
ブロック図
公開: 2024-04-24
| 更新済み: 2025-08-24
