Microchip Technology dsPIC33CK 16ビット・デジタル信号コントローラ
Microchip Technology dsPIC33CK 16ビット・デジタル信号コントローラ(DSC)は、MCUの制御属性とDSPの計算機能を単一コアに統合するように設計されています。これらのdsPIC33CK DSCは、16ビットCPU、ハイレゾPWM、CANフレキシブル・データ(CAN FD)、内部発振器、低消費電力管理モード、高速ADCモジュール、デバッガ開発サポートが特徴です。この16ビットCPUには、修正されたハーバード・アーキテクチャがあり、強化された命令セットおよびデジタル信号処理(DSP)サポートが備わっています。dsPIC33CK DSCには、内部フラッシュ・プログラム・メモリがあり、VDD全範囲で通常動作中に読取、書込、消去を実行できます。このフラッシュ・プログラム・メモリは、アプリケーション・コードを保管および実行します。dsPIC33CK DSCには、オンチップ位相ロック・ループ(PLL)があり、内部/外部発振器ソースの選択に応じて内部動作周波数を促進します。補助PLL(PLL)クロック・ジェネレータは、周辺機器の動作周波数を促進します。また、フェイルセーフクロック監視(FSCM)は、クロック障害を検出し、安全なアプリケーション・リカバリ/シャットダウンを許可します。dsPIC33CK DSCには、実装直交エンコーダ・インターフェイス(QEI)モジュールの2つのインスタンスが実装されており、メカニカル位置データの取得を目的とした増分エンコーダへのインターフェイス接続を実現しています。QEIモジュールを使用すると、AC誘導モータ(ACIM)やスイッチトリラクタンス(SR)といったモータ制御アプリケーションの閉ループ制御が可能です。
特徴
- 16ビットdsPIC33CK CPU
- クロック管理:
- Internal発振器
- プログラマブルPLLおよび発振器クロックソース
- リファレンスクロック出力
- フェイルセーフクロックモニタ(FSCM)
- バックアップ内部発振器
- 低消費電力管理モード
- 高速PWM:
- 8 PWMペア
- 立ち上がり・立ち下りエッジのデッド・タイム
- デッドタイム補償
- 高周波数動作のためのクロックチョッピング
- ADCトリガ用の柔軟性に富んだトリガ構成
- 汎用タイマ1個
- 高速ADCモジュール:
- 最大24チャンネル
- 各アナログチャンネルの専用結果バッファ
- 柔軟で独立したADCトリガー・ソース
- デジタルコンパレータ4個
- 解像度増加のための4つのオーバーサンプリング・フィルタ
- 最大3つのオペアンプ
- ダイレクトメモリアクセス(DMA)4チャンネル
- 通信インターフェイス:
- 3つの4線式SPI/I2Sモジュール
- FANフレキシブル・データ(FD)モジュール
- 3つのI2Cモジュール(SMBus搭載)
- プログラマブルな巡回冗長検査 (CRC)
- パラレル・マスタ・ポート (PMP)
- デバッガ開発サポート:
- 回路内およびアプリケーション内のプログラミングとデバッギング
- 3つの複合および5つのシンプルなブレークポイント
- トレースバッファおよびランタイムウォッチ
- バックアップ発振器搭載クロック監視システム
- ウインドウ・タイマ(DMT)
- エラー訂正コード(ECC)
- ウォッチドッグタイマ(WDT)
- CodeGuard™セキュリティ
- ICSP™書込防止機能
- RAMメモリ内蔵セルフテスト(MBIST)
ビデオ
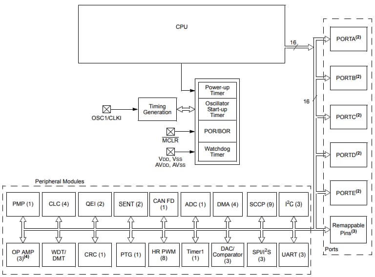
dsPIC33CK 16ビットDSCのブロック図
Additional Resources
公開: 2018-06-20
| 更新済み: 2023-10-09
