Microchip Technology PIC16(L)F18326/46 MCU(XLP搭載)
Microchip Technology PIC16(L)F18326/46 MCUは、極めて低い消費電力 (XLP) が備わっており、ピン本数が少ないフル機能搭載MCUです。これらのMCUは、XLPが搭載されているアナログ・コア独立型周辺機能・通信周辺機が特徴で、広範な汎用・低消費電力アプリケーションを対象としています。PIC16(L)F18326/46 MCUには、周辺ピン選択(PPS)機能が備わっています。これによって、デジタル周辺機器(CLC、CWG、CCP、PWM、通信)を使用した時のピン・マッピングが可能になり、アプリケーションの設計に柔軟性が生まれます。PIC 16(L)F18326 MCUは、14ピンPDIP、SOIC、TSOOPの各パッケージと16位ピンUQFNパッケージで販売されています。PIC16(L)F18346 MCUには、20ピンPDIP、SOIC、SSOP、UQFNパッケージがあります。特徴
- コア:
- Cコンパイラ最適化RISCアーキテクチャ
- 動作速度:
- 32MHzクロック入力(DC)
- 125ns(最小)のインストラクションサイクル
- 割り込み機能
- 16レベル・ディープハードウェアスタック
- 最大4つの8ビットタイマ
- 最大3個の16ビット・タイマ
- 小さい電流パワーオンリセット(POR)
- パワーアップタイマ(PARTE)
- ブラウンアウトリセット(BOR)オプション
- 低消費電力BOR(LPBOR)オプション
- 信頼性の高い動作のための専用オンチップ発振器が搭載されている拡張ウォッチドッグタイマ(WDT)
- プログラマブル・コード保護
- メモリ:
- 28KBプログラム・フラッシュ・メモリ
- 2KBデータSRAMメモリ
- 256BのEEPROM
- 直接、間接、相対アドレッシングモード
- 動作特性:
- 動作電圧範囲:
- 1.8V~3.6V (PIC16LF18326/18346)
- 2.3V~5.5V (PIC16F18326/18346)
- 温度範囲:
- -40°C~85°C(工業用)
- -40°C~125°C(拡張)
- 動作電圧範囲:
- 超低消費電力(XLP)の特徴:
- 40nA @ 1.8V (typical) スリープモード
- 250nA @ 1.8V (typical) ウォッチドッグ・タイマ
- 300nA @ 32kHz二次発信器
- 動作電流:
- 8μA @ 32kHz, 1.8V (typical)
- 37μA/MHz @ 1.8V (typical)
- 省電力機能:
- IDLEモード:
- 内部周辺機能がシステムクロックで動作している間にCPUコアをスリープ状態にする能力
- DOZEモード:
- 内部周辺機能によって使用されるCPUコアをシステムクロックより遅く実行する機能
- SLEEPモード:
- 最低レベルの電力消費
- 周辺モジュール無効化(PMD):
- ハードウェアのモジュールの無効化により未使用の周辺機器の電力消費を最小化する周辺機器電力
- IDLEモード:
- アナログ周辺機器:
- 10ビット・アナログ・デジタル・コンバータ(ADC)
- 17個の外部チャンネル
- スリープ中に変換可能
- コンパレータ:
- 2つのコンパレータ
- 非反転入力での固定電圧参照
- コンパレータ出力に外部からのアクセスが可能
- 5ビットのデジタルアナログコンバータ(DAC):
- 5ビット分解能、レールツーレール
- 正の参照選択
- バッファなしI/Oピン出力
- ADCおよびコンパレータへの内部接続
- 電圧基準:
- 1.024V、2.048V、4.096V出力レベル・フレキシブル発振器構造での固定電圧参照
- 高精度内部発振器:
- 32MHzまでソフトウェアを選択できる周波数範囲
- 公称4MHzキャリブレーション・ポイントで±1%
- 4x PLL(外部ソースあり)
- 低消費電力内部31kHz発振器(LFINTOSC)
- 外部低消費電力32kHz水晶発振器 (SOSC)
- 外部発振器ブロック:
- 3つの水晶/発振器モード最大20MHz
- 3つの外部クロック・モード最大20MHz
- フェイルセーフクロックモニタ:
- クロックソース障害を検出
- 発振器起動タイマ(OST):
- 水晶発振器ソースの安定性を保証
- 10ビット・アナログ・デジタル・コンバータ(ADC)
- デジタル周辺機器:
- 構成可能なロジックセル(CLC):
- CLC 4個
- 統合された組み合わせとシーケンスロジック
- 相補波形ジェネレータ(CWG):
- CWG 2個
- 立ち上がり/立ち下がりエッジデッドバンド制御
- フルブリッジ、ハーフブリッジ、1チャンネル駆動
- 複数のシグナルソース
- キャプチャ/コンペア/ PWM(CCP)モジュール:
- CCP 4個
- 収集/比較モード用の16ビット解像度
- PWMモード用の10ビット解像度
- パルス幅変調器(PWM):
- 10ビットPWM 2台
- 数値制御オシレータ(NCO):
- 精密なリニア周波数ジェネレータ(@50%負荷サイクル)で、0.0001%ステップサイズのソース入力クロック搭載
- 0Hz < fNCO < 32MHz入力クロック
- FNCO/220分解能
- シリアル通信:
- EUSART:
- RS-232、RS-485、LIN互換
- 自動ボー検出、自動ウェイクアップオンスタート
- マスターの同期シリアルポート(MSSP)
- SPI
- I2C、SMBus、PMBus™互換
- EUSART:
- データ信号モジュレータ(DSM):
- デジタルデータでキャリア信号を変調し、カスタムキャリア同期出力波形を作成
- 最大18本のI/Oピン:
- 個別にプログラミングできるプルアップ
- スルーレート制御
- エッジ選択による割り込みオン変化
- 入力レベル選択制御(STまたはTTL)
- デジタル・オープンドレイン対応
- ペリフェラルピン選択(PPS):
- デジタル周辺機器のI/Oピンの再マッピング
- タイマ・モジュール:
- Timer0:
- 8/16ビットタイマ/カウンタ
- 同期または非同期動作
- プログラマブル・プリスケーラ/ポストスケーラ
- キャプチャ/比較機能のタイムベース
- タイマ1/3/5(ゲート制御あり):
- 16ビット・タイマ/カウンタ
- プログラマブル内部または外部クロックソース
- 複数のゲートソース
- 複数のゲートモード
- キャプチャ/比較機能のタイムベース
- Timer2/4/6:
- 8ビット・タイマ
- プログラマブル・プリスケーラ/ポストスケーラ
- PWM機能用のタイムベース
- Timer0:
- 構成可能なロジックセル(CLC):
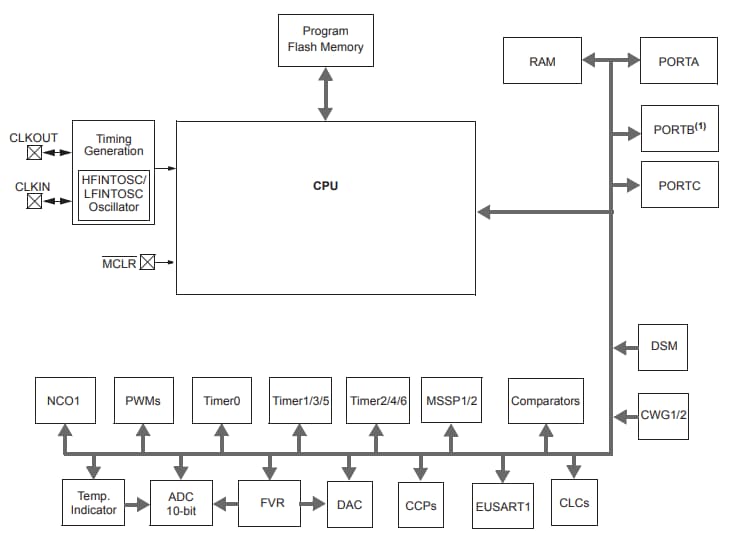
PIC16(L)F18346のブロック図
公開: 2019-05-02
| 更新済み: 2023-05-26
