NXP Semiconductors MC33HB2000パワーICとドライバ
NXP Semiconductors MC33HB2000パワーICとドライバは、スマートモスモノリシックHブリッジICで、SPI構成と診断機能が強化されています。これらのパワーICは、10A以上のピーク電流で誘導負荷を制御でき、公称連続平均負荷電流は3Aです。NXP MC33HB2000 ICは、ISO26262安全要件に対処するように設計されており、車載アプリケーションの厳しい要件を満たしており、AEC-Q100の認定を受けています。これらのパワーICは、誤差5%未満の電流ミラー出力信号を介したリアルタイム電流帰還において高い精度を発揮します。MC33HB2000 ICは、5V ~ 28V電圧範囲で動作します。これらのパワーICは、電子スロットル制御、排気ガス再循環制御(EGR)、電気ポンプ、ターボ、ウェストフラップ制御に最適です。特徴
- シリアル・ペリフェラル・インターフェイス経由の高度な診断レポート:
- 充電ポンプの低電圧、過電圧、VPWRの低電圧
- 各出力の接地に対するショートおよびVPWRに対するショート
- 開負荷、温度警告、温度過昇シャットダウン
- SOIC、PQFN、HVQFNパッケージサイズ
- 完全Hブリッジまたはハーフブリッジ構成で誘導負荷を駆動
- 過電圧保護によって、Hブリッジモードで通知され負荷が高圧側の再循環モードになる
- AEC-Q100 grade 1認定
アプリケーション
- 電子スロットル制御
- 排気ガス再循環(EGR)制御
- ターボ、スワール、ワール、ウェステフラップ制御
- 電動ポンプ、モータ制御、補助
仕様
- 動作電圧範囲: 5V~28V
- 2V/μsデフォルトスルーレート
- 閾値電流制限:7A
- >5%誤差
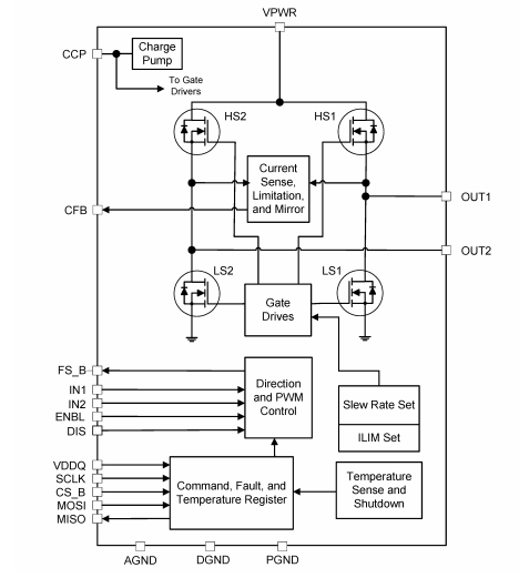
ブロック図
機能ブロック図
動作モードの状態図
動作モード
スリープモード: MC33HB2000機能は無効になっています。電流消費は、スリープ状態の電流仕様を超過していません。
•スタンバイモード: MC33HB2000ロジックは、高インピーダンス状態での出力で完全に動作します。
通常モード: MC33HB2000の機能は完全に動作します。検出された障害によって、デバイスを障害モードに移行します。
• Faultモード: 特定の機能が強制的にオフになり、FS_B信号は障害を示すロジック [0] にラッチされる
公開: 2020-06-09
| 更新済み: 2024-10-17
