NXP Semiconductors MC33HB2002 ICとドライバ
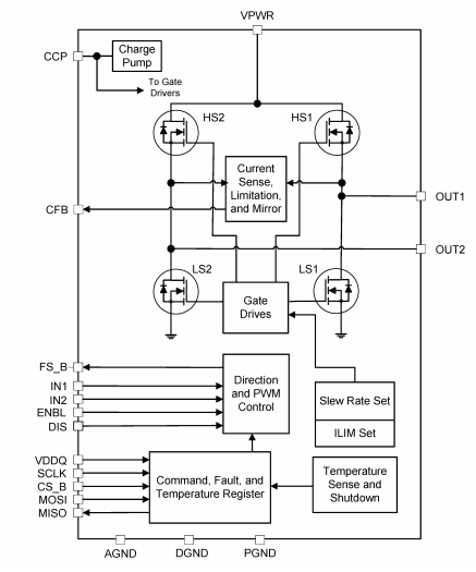
NXP Semiconductors MC33HB2002 ICとドライバは、SMARTMOSモノリシックHブリッジパワーICで、SPI構成と診断機能が強化されています。これらのパワーICは、10A以上のピーク電流をともなう誘導負荷を制御でき、公称連続平均負荷電流は3Aです。MC33HB2002 ICは、ISO26262安全要件に対処できるように設計されており、車載アプリケーションの厳格な要件に適合、AEC-Q100の認定を取得しています。これらのパワーICは、誤差が5%未満の電流ミラー出力信号を介したリアルタイム電流帰還での高精度を実現しています。MC33HB2002 ICは、5V~28Vの電圧範囲で動作します。これらのパワーICは、電子スロットル制御、排気ガス再循環制御(EGR)、電気ポンプ、ターボ、ウェステフラップ制御での使用に最適です。特徴
- シリアル・ペリフェラル・インターフェース経由の高度な診断レポート:
- 充電ポンプの低電圧、過電圧、VPWRの低電圧
- 各出力の接地に対するショートおよびVPWRに対するショート
- 開負荷、温度警告、温度過昇シャットダウン
- SOIC、PQFN、HVQFNの3種類のパッケージサイズでご用意あり
- 完全Hブリッジまたはハーフブリッジ構成で誘導負荷を駆動
- 過電圧保護によって、Hブリッジモードで通知され負荷が高圧側の再循環モードになる
- AEC-Q100 Grade 1に認定済
The MC33HB2002 operates in the following modes:
• Sleep mode:
MC33HB2002 functions are disabled. The current consumption does not exceed the sleep-state current specification.
• Standby mode
MC33HB2002 logic is fully operational with the outputs in a high-impedance state.
• Normal mode:
MC33HB2002 functions are fully operational. Any detected faults transition the device to Fault mode.
• Fault mode:
Certain functions are forced off and the FS_B signal is latched to logic [0] indicating a fault
公開: 2020-06-09
| 更新済み: 2022-03-11
