Omron Industrial Automation S8VK-WBスイッチモード電源
Omron Industrial Automation S8VK-WBスイッチモード電源を使用すると、フットプリントを縮小してさらなる機能を追加できます。240ワット~960ワットでご用意があり、24VDCおよび48VDCの両方のオプションがあります。S8VK-WBシリーズには内部電子機器のコーティング、フロントパネルのビジュアル・ステータス・インジケータ、プッシュイン・プラス端子が追加されていますが、 三相入力(3 x 340~576VAC)、二相入力(2 X 340~576VAC)、DC入力(450~810VDC、960Wを除く)といった入力範囲も引き続き幅広く受け入れサポートしています。このシリーズは、-40°C~+70°Cの周囲温度で動作し、サイド・バイ・サイド取付が可能です。S8VK-WBは、3000m高度の認証を取得しており、SEMI F47-0706規格に準拠しています。特徴
- -40°C~+70°Cの周囲温度で動作
- サイド・バイ・サイドの取付が可能
- SEMI F47-0706規格に準拠
- 高度3000mの認証
- 環境に対する良好な抵抗を目的としたコーティングPCB
- DC OKおよび過負荷状態を示す信号出力を装備
仕様
- 240W、480W、960W電力定格
- 24Vまたは48V出力電圧
- 380V~480V定格入力電圧
- 5A~20A定格出力電流
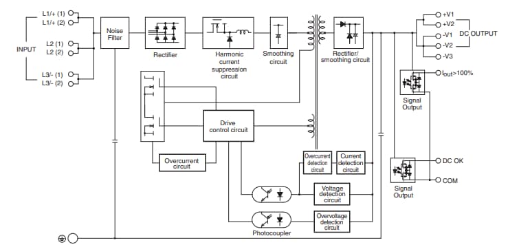
ブロック図
公開: 2021-04-01
| 更新済み: 2022-03-11
