STMicroelectronics ST1VAFE3BXバイオセンサ(vAFE搭載)
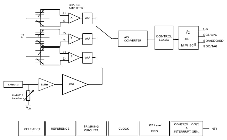
STMicroelectronics ST1VAFE3BX 垂直アナログ フロント エンド (vAFE) を備えたバイオセンサーは、生体電位信号を検出し、モーション トラッキング用の高性能 3 軸デジタル加速度センサを備えています。STMicroelectronics のST1VAFE3BXは、小型、低ノイズ、低電力に設計されており、入力インピーダンスを設定できます。vAFE は、モーション データを補完するアナログ信号を読み取り、信号を同期して、低遅延でコンテキスト認識型のエッジ分析を実現します。統合が簡単であるため、vAFE と加速度計はMEMSセンサで個別にデータを処理でき、マイクロコントローラからタスクをオフロードできます。高度な機能には、有限状態マシン (FSM)、適応型自己構成 (ASC)、信号処理とエクスポート可能な AI フィルター用の機械学習コア (MLC) が含まれます。特徴
- 生体電位信号検出とモーション追跡用のデュアルチャンネル
- 供給電圧範囲: 1.62V ~ 3.6V
- I2CおよびSPIインターフェイス用の独立IO供給(1.62V ~3.6V)
- MIPI I3C® インターフェイスを対象とした独立IO供給(拡張範囲1.08V ~3.6V )
- 2.2µAパワーダウンを備えた50µA (標準)での超低電源電流
- アナログハブ搭載の生体電位信号検出チャンネル
- シングルチャンネル、差動入力アンプ(vAFE)
- プログラマブルゲインおよび入力インピーダンス
- 12ビットADC分解能
- アナログハブ/vAFEチャンネルのみ使用時のODR最大3,200Hz
- 加速度計チャンネル
- 低ノイズ: 最低220μg/√Hz
- ±2g/±4g/±8g/±16gのプログラマブル・フルスケール
- ODR 1.6Hz~800Hz
- 最大1.6kHzのアナログハブ/vAFEデータ用の組み込み機械学習コア
- 最大1.6kHzのアナログハブ/vAFEデータ用のプログラマブル有限ステートマシン
- センサ処理出力(FSM / MLC)に基づいた自動適応型構成(ASC)
- 加速度センサとアナログハブ/vAFEデータの最大128サンプル、または低解像度の加速度センサデータの256サンプルを内蔵したFIFO
- 高速I2C/SPI/MIPI3Cデジタル出力インターフェイス
- 高度歩数計、ステップ検出器、ステップカウンタ
- セルフテスト
- 2.0mm x 2.0mm x 0.74mm (最大)、LGA 12リードパッケージ
- 高耐衝撃性: 10,000g
- ECOPACKおよびRoHS準拠
アプリケーション
- 生体電位信号検出(ENG、ECG、EEG)
- ウェアラブル機器および携帯機器
- アクティビティ追跡と健康
ビデオ
ブロック図
公開: 2024-09-06
| 更新済み: 2025-05-08
