自動位相追加/脱落機能と共にPWM/PFM(AUTOモード)動作は、広い出力電流範囲にわたって効率を最大化します。LP8732xx-Q1/LP8733xx-Q1は、リモート電圧センシング(デュアル構成における差動)をサポートしており、レギュレータの出力とポイントオブ負荷(POL)の間のIR降下を補償します。これにょって、出力電圧の精度が向上します。スイッチングクロックは、PWMモードに強制でき、外部クロックに同期させることにより妨害を最小限に抑えています。
LP8732xx-Q1/LP8733xx-Q1は、イネーブル信号に同期するGPO信号など、プログラマブル・スタートアップおよびシャットダウン遅延ならびにシーケンスをサポートしています。起動時および電圧チャンネル時に、このデバイスは、出力スキュー・レートを制御し、出力電圧オーバーシュートと突入電流を最小限に抑えます。
特徴
- AEC-Q100で品質評価済み、結果は以下のとおりです。
- デバイス温度グレード1: –40°C~125°Cの動作周囲温度
- 入力電圧範囲: 2.8V~5.5V
- 2つの高効率降圧DC/DCコンバータ
- 出力電圧: 0.7V~3.36V
- 1位相あたり最大出力電流2A(LP8732xx-Q1)または3A(LP8733xx-Q1)
- 自動位相追加/脱落および2相構成での強制多相動作
- 2相構成でのリモート差動フィードバック電圧センシング
- プログラマブル出力電圧スルーレート0.5mV/µs~10mV/µs
- 2MHzのスイッチング周波数
- EMI低減のためのスペクトラム拡散モードおよび位相インターリーブ
- リニアレギュレータ2台
- 入力電圧範囲: 2.5V~5.5V
- 出力電圧: 0.8V~3.3V
- 最大出力電流300mA
- 構成可能な版票出力信号(GPO、GPO2)
- プログラマブル・マスキング搭載割り込み機能
- プログラマブル・パワーグッド信号(PGOOD)
- 出力短絡および過負荷保護
- 過熱の警告と保護
- 過電圧保護(OVP)および不足電圧ロックアウト(UVLO)
- ウェッタブルフランク付き28ピン、5mm×5mm VQFNパッケージ
アプリケーション
- 車載用ヘッドユニットとクラスタ
- 車載用カメラモジュール
- サラウンドビュー・システムECU
- レーダーシステムECU
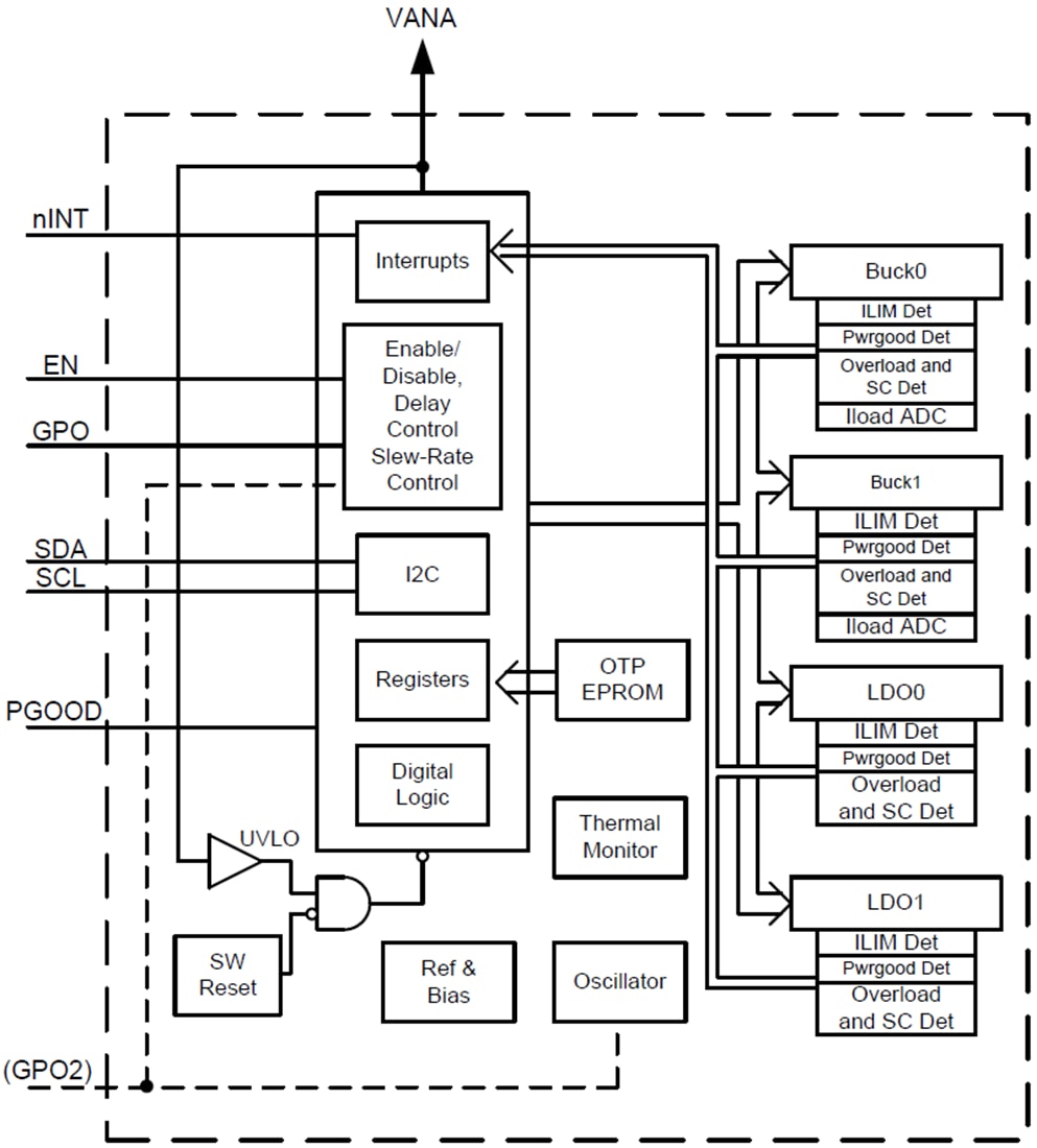
機能ブロック図
公開: 2018-10-31
| 更新済み: 2023-07-18

