自動位相追加/脱落機能と共にPWM/PFM(AUTOモード)動作は、広い出力電流範囲にわたって効率を最大化します。LP8733xx/LP8733xx-Q1は、リモート電圧センシング(二相構成での差動)をサポートしており、レギュレータ出力とポイントオブロード(POL)の間のIRドロップを補償できます。これによって、出力電圧の精度が向上します。スイッチングクロックは、PWMモードに強制でき、外部クロックに同期させることにより妨害を最小限に抑えています。
Texas Instruments LP8733xx/LP8733xx-Q1は、イネーブル信号に同期するGPO信号を始めとするプログラマブル・スタートアップとシャットダウン遅延とシーケンスをサポートしています。起動時および電圧チャンネル時に、このデバイスは、出力スキュー・レートを制御し、出力電圧オーバーシュートと突入電流を最小限に抑えます。LP8733xx-Q1は、車載用アプリケーションのAEC-Q100認定を受けています。
特徴
- 入力電圧: 2.8V~5.5V
- 2つの高効率降圧型DC/DCコンバータ
- 0.7V~3.36V出力電圧
- 1フェーズあたり3A最大出力電流
- 2相構成での自動位相追加/制限と強制多相動作
- 2相構成でのリモート差動フィードバック電圧センシング
- プログラマブル出力電圧スルーレート: 0.5mV/µs~10mV/µs
- 2MHzのスイッチング周波数
- EMI低減のためのスペクトラム拡散モードおよび位相インターリーブ
- リニア・レギュレータ2台
- 2.5V~5.5V入力電圧
- 0.8V~3.3V出力電圧
- 最大出力電流300mA
- 構成可能な版票出力信号(GPO、GPO2)
- プログラマブル・マスキング搭載割り込み機能
- プログラマブル・パワーグッド信号(PGOOD)
- 出力短絡および過負荷保護
- 過熱の警告と保護
- 過電圧保護(OVP)および低電圧ロックアウト(UVLO)
- ウェッタブルフランク付き28ピン、5mm×5mm VQFNパッケージ
アプリケーション
- 車載用ヘッドユニットとクラスタ
- 車載用カメラモジュール
- サラウンドビュー・システムECU
- レーダーシステムECU
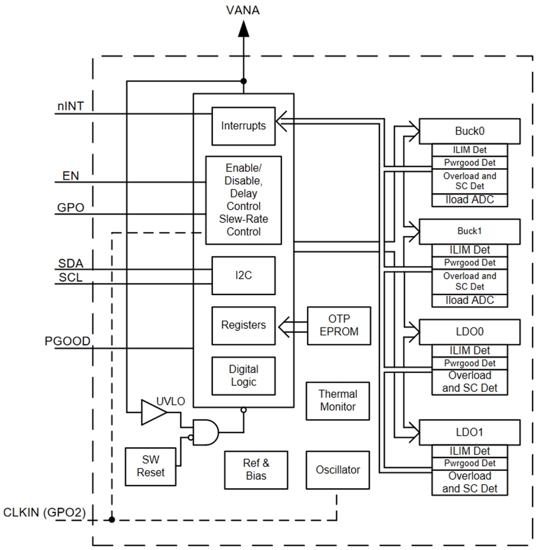
機能ブロック図
公開: 2021-04-19
| 更新済み: 2024-03-11

