Texas Instruments TMP1827 デジタル温度センサ
Texas InstrumentsTMP1827デジタル温度センサは、2Kb EEPROM を内蔵した高精度の1-Wire互換デジタル出力温度センサです。このデバイスには、SHA-256-HMAC認証スキームと、 –55°C から +150°C までの広い動作温度範囲も含まれています。The TMP1827は、+10°C ~ +45°Cの温度範囲にわたって、 ±0.1°C (標準)/±0.2°C (最大) の高精度を提供します。各デバイスには、アドレス指定と NIST トレーサビリティのために工場でプログラムされた 64 ビットの一意の識別番号が付いています。Texas InstrumentsTMP1827は、レガシー アプリケーションの標準速度と、1.7Vから5.5Vの広い電圧範囲にわたる低遅延通信のための90kbpsデータ レートのオーバードライブモードをサポートします。最も単純な動作モードでは、データピンに8kV IEC-61000-4-2 ESD保護を内蔵したTMP1827 1線式インターフェイスは、バスパワー・モードでは単一の接続とグランドリターンしか必要とせず、配線や外付け保護部品の数を減らすことで簡素化とコスト削減を実現します。VDD 電源ピンは、専用の電源が必要なアプリケーションにも使用できます
特徴
- マルチドロップ共有バスと巡回冗長検査(CRC)を搭載した1線式インターフェイス
- バスパワー駆動による動作電圧:1.7V〜5.5V
- 8kV接触放電に対してIEC 61000-4-2 ESD対応
- 機能安全対応
- 機能安全システム設計に役立つ資料を利用可能
- 高精度デジタル温度センサ
- TMP1827
- ±0.2°C〜+45°Cで+10°C(最大)
- –40°C〜+105°Cで±0.3°C(最大)
- -55°C〜+150°Cで±0.4°C(最大)
- TMP1827N
- -55°C〜+150°Cで±0.9°C(最大)
- TMP1827
- 温度測定電流:94µA
- シャットダウン電流:1.3µA
- 16ビットの温度分解能:7.8125m°C(1LSB)
- オーバードライブ速度で90kbpsの高速データレート
- より高速なデバイスアドレッシングのための柔軟でユーザープログラム可能なショートアドレスモード
- SHA-256-HMAC認証スキーム
- FIPS 180-4準拠のSecure Hashを採用
- FIPS 198-1準拠のHMACを採用
- 2KビットEEPROMの特徴
- 64ビットブロックサイズでの書き込み操作
- 連続読み取りモード
- 256ビットページサイズでの書き込み保護付き読み取り
- 256ビットページサイズでの認証済み書き込み保護モード
- プログラミング電流:178µA
- デバイスアドレッシング向けに工場出荷時にプログラミングされた、NISTトレーサブル、消去不可能な64ビット識別番号
- 4つの設定可能なオープンドレインデジタル入出力および温度アラート
アプリケーション
- ファクトリオートメーションと制御
- 家電製品
- 医療用アクセサリ
- CPAP装置
- バッテリチャージャIC
- EV充電インフラ
- LED照明
- 温度トランスミッタ
- コールドチェーン
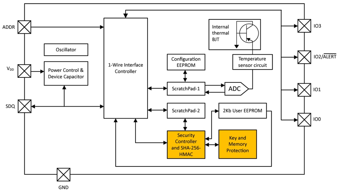
機能ブロック図
その他のリソース
公開: 2023-06-21
| 更新済み: 2023-10-30
