Texas Instruments TPS40345EVM-353評価モジュール
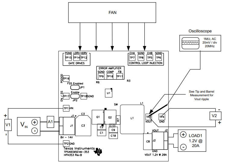
Texas Instruments TPS40345EVM-353評価モジュールは、TPS40345の動作を評価するように構成されています。TPS40345は、同期バック・コンバータで、最大20Aで1.2V固定出力を12Vの入力バスから供給します。TPS40345EVM-353によって、コンバータ性能のシンプルな非侵襲性計測を目的に便利なテスト・ポイントが実現しています。このデバイスには、600kHzスイッチング周波数および20A定常状態負荷電流を始めとする複数の機能が実装されています。TPS40345EVM-353は、単電源から起動するように設計されており、追加のバイアス電圧が不要になります。特徴
- 入力電圧定格: 8V~14V
- 出力電圧定格: 1.2V ±2%
- 20A定常状態の負荷電流
- スイッチング周波数: 600kHz
- パワー・グッド、イネーブル、ソフトスタート、エラー・アンプを始めとするIC機能への簡単なアクセス
- コンバータ性能のシンプルな非侵襲性計測を目的に便利なテスト・ポイントが実現しています。
チャートの設定
公開: 2018-11-15
| 更新済み: 2025-03-06
