ROHM Semiconductor LAPIS ML610Q327/ML610Q338/ML610Q339 8ビットMCU
ROHM Semiconductor LAPIS ML610Q327/ML610Q338/ML610Q339 8ビットマイクロコントローラ(MCU)は、タイマ、PWM、UART、I2Cバスインターフェイス、同期式シリアルポート、逐次比較型10ビットA/Dコンバータ、音声出力機能など多彩なペリフェラルを集積した高性能8ビットCMOS MCUです。nX-U8/100 CPUは、3段パイプラインアーキテクチャによる並列処理により、1命令1クロックパルスで効率的な命令実行が可能です。また、ROHM Semiconductor LAPIS ML610Q327/ML610Q338/ML610Q339は、マスクROMと同等の低電圧、低消費電力(読み出し時)を実現したフラッシュメモリを搭載しており、警報機や携帯機器などのバッテリ駆動アプリケーションに最適です。さらに、オンチップデバッグ機能を搭載しているため、LSIをボードに実装した状態でソフトウェアのデバッグ/書き換えが可能です。特徴
- CPU
- 8ビットRISC CPU(CPU名称:nX-U8/100)
- 命令体系:16ビット命令
- 命令セット(転送、算術演算、比較、論理演算、乗除算、ビット操作、ビット論理演算、ジャンプ、条件ジャンプ、コールリターンスタック操作、算術シフトなど)
- オンチップデバッグ機能
- 最短命令実行時間
- 約30.5μs(32.768kHz システムクロック時)
- 約0.244μs(4.096MHz システムクロック、 VDD = 2.0V〜5.5V時)
- 約0.122μs(8.192MHz システムクロック、 VDD = 2.2V〜5.5V時)
- 内部メモリ
- フラッシュメモリ
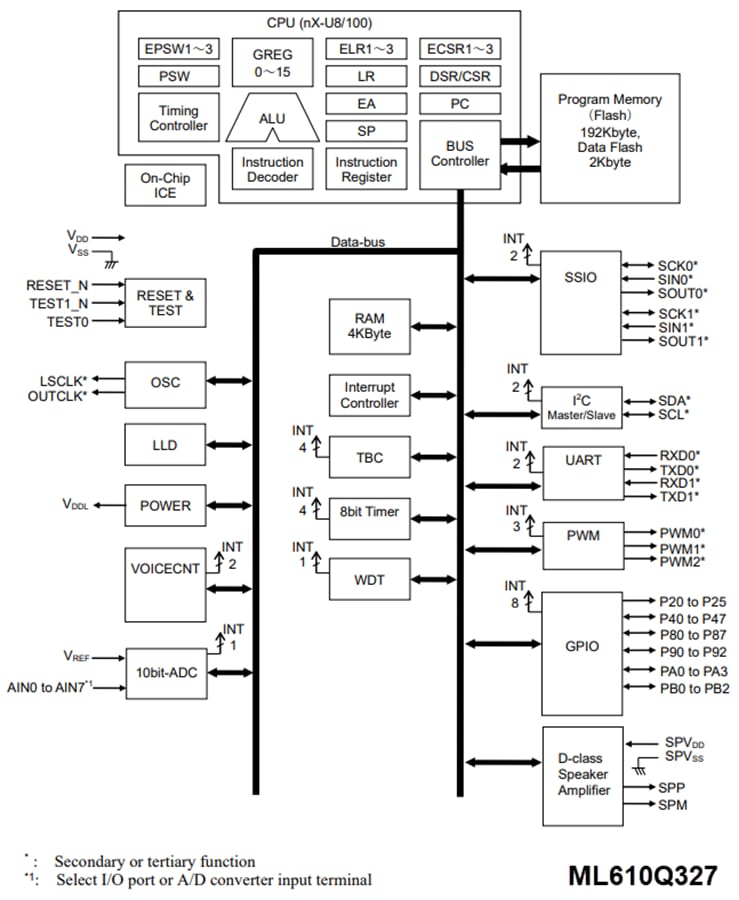
- ML610Q327 - プログラム領域:192Kバイト(96K x 16ビット)、書き換え回数:100回
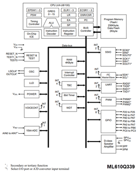
- ML610Q338/ML610Q339 - プログラム領域:256Kバイト(128K × 16ビット)、書き換え回数:100回
- データフラッシュメモリ:2Kバイト(1K × 16ビット)、書き換え回数 10,000回
- バックグランドオペレーション(BGO)機能内蔵(データフラッシュの消去/書き込み中もCPUのプログラム処理が継続)
- 内蔵RAM:4Kバイト(4K x 8ビット)
- フラッシュメモリ
- 割り込みコントローラ
- ノンマスカブル割り込み 1要因:1ウォッチドッグタイマ
- マスカブル割り込み 29要因
- 内部要因:21(データフラッシュ消去/書き込み完了、SSIO0、SSIO1、UART0、UART1、I2Cバス マスタ/スレーブインターフェイス、タイマ0、タイマ1、タイマ2、タイマ3、PWM0、PWM1、PWM2、A/Dコンバータ、音声再生、スピーカ端子ショート検出、TBC128Hz、TBC32Hz、TBC16Hz、TBC2Hz)
- 外部要因:8(P80、P81、P82、P83、P84、P85、P86、P87)
- タイムベースカウンタ
- 低速タイムベースカウンタ × 1チャンネル
- 高速タイムベースカウンタ × 1チャンネル
- ウォッチドッグタイマ
- 1回目のオーバーフロー時にノンマスカブル割り込みを発生、2回目のオーバーフロー時にシステムリセットを発生
- フリーラン
- 4種類のオーバフロー周期が選択可能:125ms、500ms、2s、8s(32.768kHz時)
- タイマ:8ビット × 4チャンネル(16ビット構成も可能)
- PWM:分解能16ビット × 3チャンネル
- 音声出力機能
- 音声合成方式:HQ-ADPCM、4ビットADPCM2、8ビットノンリニアPCM、8ビットストレートPCM、16ビットストレートPCM
- サンプリング周波数:6.4kHz、8kHz、10.7kHz、12.8kHz、16kHz、21.3kHz、25.6kHz、32kHz
- 逐次比較型A/Dコンバータ
- 10ビットA/Dコンバータ
- 入力:8チャンネル
- 変換時間:24.4μs/チャンネル(4.096MHz VDD ≥ 2.2V時)
- 変換時間:12.2μs/チャンネル(8.192MHz VDD ≧ 2.5V時)
- 連続変換/シングル変換を選択可能
- 同期式シリアルポート(SSIO)
- 2チャンネル
- マスタ/スレーブを選択可能
- LSBファースト/MSBファーストを選択可能
- 8ビット長/16ビット長を選択可能
- UART
- 半二重 × 2チャンネル(2チャンネル使用で全二重も可能)
- TXD/RXD
- ビット長、パリティ有/パリティ無、奇数パリティ/偶数パリティ、1ストップビット/2ストップビット
- 正論理/負論理の選択可能
- ボーレートジェネレータ内蔵
- I2Cバスインターフェイス
- マスタ機能:標準モード(100kbps)および高速モード(400kbps)
- スレーブ機能:標準モード(100kbps)および高速モード(400kbps)
- 汎用ポート
- 出力専用ポート × 6チャンネル(2次機能含む)
- 入出力ポート(2次機能を含む)
- ML610Q327 26チャンネル
- ML610Q338 30チャンネル
- ML610Q339 42チャンネル
- スピーカアンプ(Dクラス)出力
- 1.0W(5.0V時)/0.45W(3.0V時)
- 断線検出回路
- スピーカ端子ショート検出回路
- リセット
- RESET_N端子によるリセット
- 電源投入時のパワーオンリセット発生
- ウォッチドッグタイマ(WDT)のオーバーフローによるリセット
- PLL発振停止検出リセット
- 低レベル検出(LLD)リセット
- クロック
- 低速クロック:内蔵RC発振(32.768kHz)
- 高速クロック:内蔵PLL発振(約1.024MHz/約2.048MHz/約4.096MHz/約8.192MHz)
- 電源管理
- STOPモード:発振停止(CPUおよび周辺回路は動作を停止)
- HALTモード:CPUによる命令実行中断(周辺回路は動作状態)
- クロックギア:ソフトウェアにより高速システムクロックの周波数を変更可能(発振クロックの1/2、1/4、1/8、1/16)
- ブロック制御機能:使用しない機能ブロック回路の動作をパワーダウン(レジスタ、リセット、クロック停止)
- パッケージ
- ML610Q327:48ピンTQFP(P-TQFP48-0707-0.50-ZK6)
- ML610Q338:52ピンTQFP(P-TQFP52-1010-0.65-ZK6)
- ML610Q339:64ピンTQFP(P-TQFP64-1010-0.50-ZK6)
- 動作保証範囲
- 動作温度:40°C〜85°C
- 動作電圧:VDD = 2.0V~5.5V、SPVDD = 2.0V~5.5V
アプリケーション
- 家電製品
- モノのインターネット(IoT)デバイス
- 車載用電子機器
- 産業用オートメーション
- 玩具・教育用品
- セキュリティシステム
- ウェアラブル
公開: 2024-11-27
| 更新済み: 2024-12-23
